Архив Форума Hi-Fi.ru
По 23-5-2020
Портал Hi-Fi.ru более не предоставляет возможностей и сервисов по общению пользователей


Страницы: Пред. 1 ... 1713 1714 1715 1716 1717 ... 1913 След.

Коллекции аудио компакт-кассет. Заново...

 
 
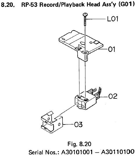
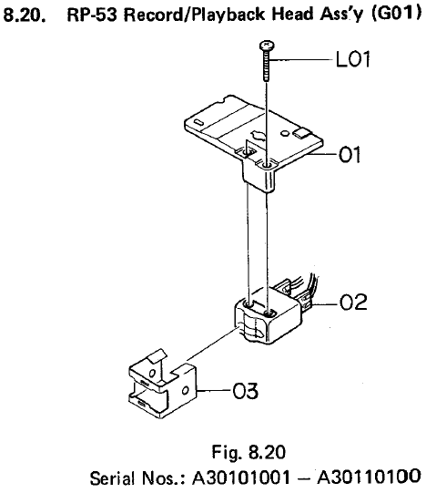
Это не выступы, вот эта голова (P-53, RP-53) с падлифтером
RP53.png (16.99 КБ)
作りましょう!
 
 
Эта же голова идет в "Дуалтрейсерах" - Нак 500, 600, 550 "репортерской" и 250 "автобусной", там одновальный ЛПМ, и "отжатие" неприемлемо.
作りましょう!
 
 
Цитата
Mr.Yu написал:
Это не выступы,
Пальчиком и ногтем прощупываются как выступы, небольшие - на миллиметр -полтора.
Цитата
Mr.Yu написал:
Эта же голова идет в "Дуалтрейсерах" - Нак 500, 600, 550 "репортерской" и 250
У меня на снимке воспроизводящая голова, как универсальная не может быть использована.
 
 
Не было никаких выступов на ГВ
в 700 и 700 II
 
 
Цитата
Mr.Yu написал:
Это не выступы, вот эта голова (P-53, RP-53) с падлифтером
P это ГВ с зазором 0,7 мкм
RP это ГУ с зазором 1,5 мкм
 
 
Жжоте оба?
 
 
У Макса ZXL Ген
 
 
Цитата
Магнитофоныч написал:
Не было никаких выступов на ГВ в 700 и 700 II
На фото голова просто попилена, ИМХО
作りましょう!
 
 
Цитата
ремонт-NIK написал:
напомни
1000zxl
 
 
Пойдем в наковскую лучше
здесь кассеты все таки
Страницы: Пред. 1 ... 1713 1714 1715 1716 1717 ... 1913 След.
Архив Форума Hi-Fi.ru
По 23-5-2020
Портал Hi-Fi.ru более не предоставляет возможностей и сервисов по общению пользователей

1997—2026 © Hi-Fi.ru (Лицензионное соглашение)