Лимитед Едишен ...
Архив Форума Hi-Fi.ru
По 23-5-2020
Портал Hi-Fi.ru более не предоставляет возможностей и сервисов по общению пользователей
По 23-5-2020
Портал Hi-Fi.ru более не предоставляет возможностей и сервисов по общению пользователей
Деки NAKAMICHI, настройка и обсуждение.
|
20-08-2015 19:23:45
|
|
|
|
|
|
20-08-2015 22:00:11
Значит Олег переименует свой Маяк в "Добры́ня Ники́тич" ![]() |
|||
|
|
|
|
20-08-2015 22:06:28
Или Св.Георгий...
|
|
|
|
|
|
27-08-2015 12:20:09
Не просто замена пассика, а + настройка сервосхемы мотора для устранения напруги на нем в конечных положениях - стоп - воспр
Хай-Энд -это законный способ кайфануть)) Но если это надоест, то и неплохо то же.
|
|
|
|
|
|
27-08-2015 15:35:21
|
|||
|
|
|
|
27-08-2015 15:38:49
Control Motor это какой ?
|
|
|
|
|
|
27-08-2015 15:55:50
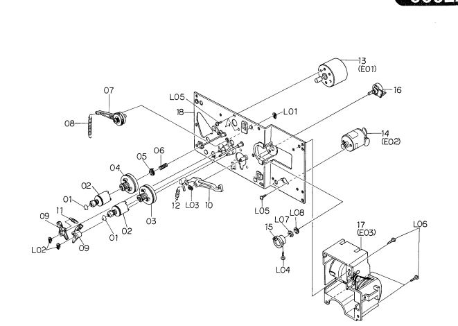
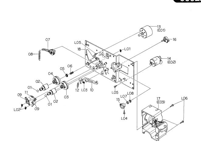
14 (E02)
|
|
|
|
|
|
27-08-2015 16:04:00
biko biko
Либо ослаб пассик вращающий колесо 36 Либо сам движок 14 накрываться начал |
||||
|
|
|
|||
Архив Форума Hi-Fi.ru
По 23-5-2020
Портал Hi-Fi.ru более не предоставляет возможностей и сервисов по общению пользователей
По 23-5-2020
Портал Hi-Fi.ru более не предоставляет возможностей и сервисов по общению пользователей

