| Цитата |
|---|
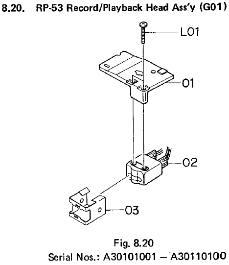
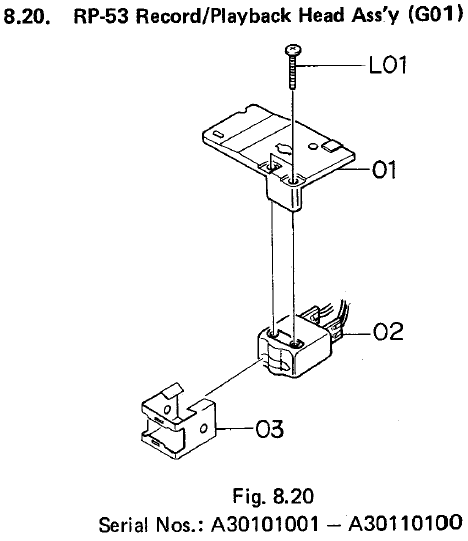
| Mr.Yu написал: Падлифтер скорее всего был потерян, у меня такая же 580 (стиралка за роликом), там на ГУ падлифтер есть. |
Архив Форума Hi-Fi.ru
По 23-5-2020
Портал Hi-Fi.ru более не предоставляет возможностей и сервисов по общению пользователей
По 23-5-2020
Портал Hi-Fi.ru более не предоставляет возможностей и сервисов по общению пользователей
Деки NAKAMICHI, настройка и обсуждение.
|
10-12-2015 14:30:04
|
|
|
|
|
|
11-12-2015 04:18:36
С таким показушно-неуважительным отношением к стране, в которой живёшь, лучше забрать свои манатки и аккуратненько свалить с этого российского ресурса. Также тихо, как и появился... |
|||
|
|
|
|
11-12-2015 08:21:04
1.)Denon 3808A + Oppo 83 + Mac mini( server audio ) + Monitor Audio Rs8 (biampling ) + mission c7(centr) + MA silver FX
2.) Denon 2803 + b&w 685 + Apple tv1 + Denon dac usb300 3.) Denon 2308 + Sony 315 + PC + TV+ PS4 |
|||||
|
|
|
|
11-12-2015 08:52:05
Наличие только диплома = наличию водительского удостоверения у "блондинки". :D
|
|||||||
|
|
|
|
11-12-2015 09:08:16
Плохо, что не поняли. Впрочем, в экономике Вы не лучшим образом "понимаете". На этом предложил бы вернуться к теме раздела, обсуждению технических аспектов дек Накамичи.
|
|
|
|
|
Архив Форума Hi-Fi.ru
По 23-5-2020
Портал Hi-Fi.ru более не предоставляет возможностей и сервисов по общению пользователей
По 23-5-2020
Портал Hi-Fi.ru более не предоставляет возможностей и сервисов по общению пользователей
