| Цитата |
|---|
| Андрей пишет: Из вредности сегодня еще раз посмотрю . |
Архив Форума Hi-Fi.ru
По 23-5-2020
Портал Hi-Fi.ru более не предоставляет возможностей и сервисов по общению пользователей
По 23-5-2020
Портал Hi-Fi.ru более не предоставляет возможностей и сервисов по общению пользователей
Деки NAKAMICHI, настройка и обсуждение.
|
06-04-2016 12:43:23
|
|
|
|
|
|
06-04-2016 14:15:42
Алексей может пригодится на запчасти |
|||
|
|
|
|
06-04-2016 16:44:46
Понос, понос, автор явно сам аппарат и в глаза не видел. Курсовая статейка, студента журфака.
Наличие только диплома = наличию водительского удостоверения у "блондинки". :D
|
|
|
|
|
|
06-04-2016 17:37:46
Прочитал от корки до корки в том то и дело Ты человек воспитанный - я понимаю Назовем опус - лингвистической диареей непрофильного специалиста ![]() |
|||
|
|
|
|
06-04-2016 18:16:56
Артем, если Илья Титов - это твой творческий псевдоним,
то Петр Орлов просил не гневаться |
|
|
|
|
|
06-04-2016 20:15:05
+100500
Хай-Энд -это законный способ кайфануть)) Но если это надоест, то и неплохо то же.
|
|||
|
|
|
|
07-04-2016 14:25:43
Статья автора в целом грамотная и точная, за исключением путаницы в скорости валов. Если есть возражения по существу, приводи, а на лирику ведутся в песочнице.
Изменено: - 07-04-2016 14:27:10
____ Avanti! ____
Мы все механизаторы, и нам живётся очень даже клёво! |
|||
|
|
|
|
07-04-2016 15:37:35
Ты чего то перевозбудился ...
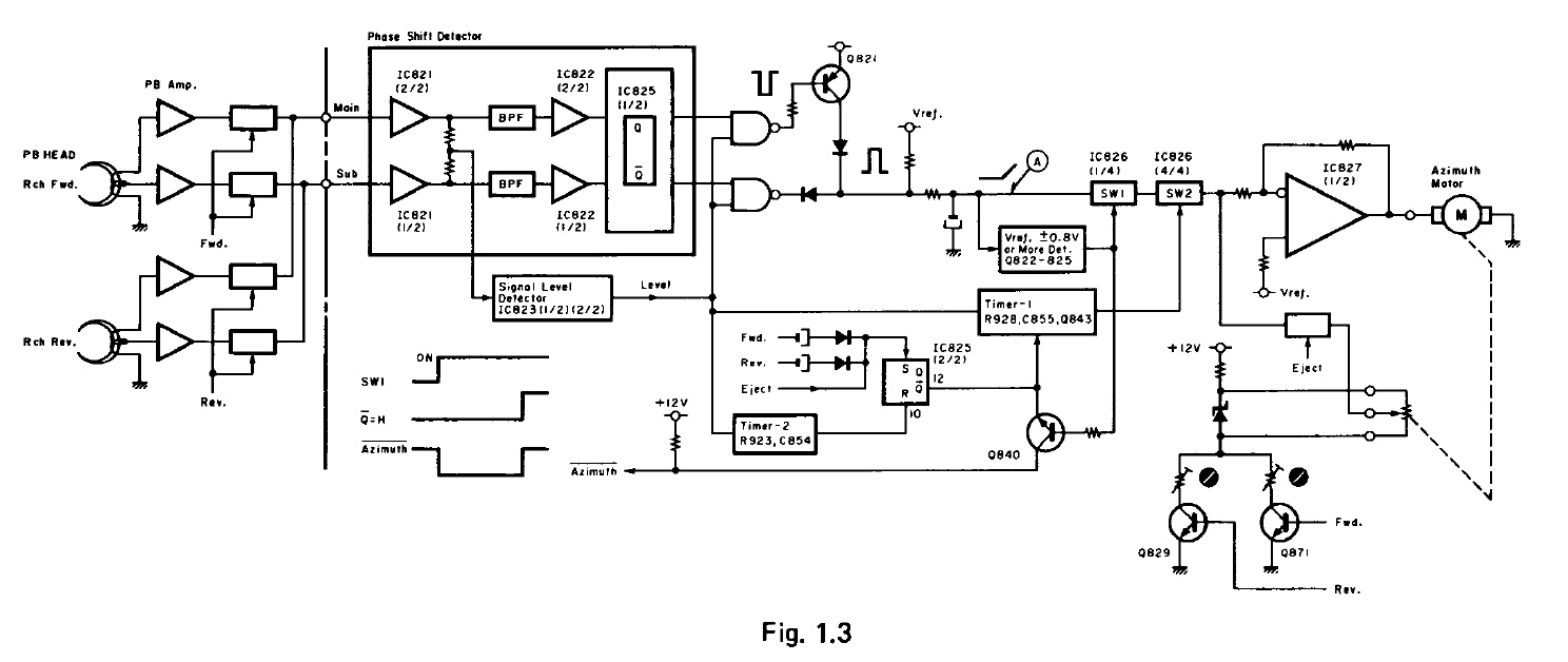
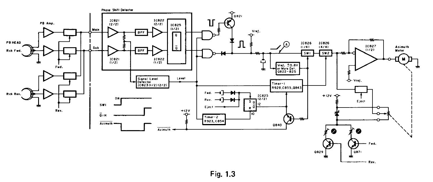
Главное что вызвало раздражение у меня Цитата: Аппарат фирмы Nakamichi Dragon (в кругах любителей фамильярно именуемый «дракон») представляет собой однокассетную деку с автореверсом и механизмом автоматической коррекции положения воспроизводящей головки — NAAC. Суть этого механизма заключается в том, что микропроцессор определяет, как была развернута записывающая головка магнитофона, на котором производилась запись, и поворачивает воспроизводящую головку Dragon в соответствующее положение. Ниже схема управления NAAC и в ней нет микропроцессора Статья изобилует бессмысленными и ненужными эпитетами и перегружена эмоциональностью Это раздражает меня всегда |
|
|
|
|
|
07-04-2016 15:39:40
NAAC
|
||||
|
|
|
|||
Архив Форума Hi-Fi.ru
По 23-5-2020
Портал Hi-Fi.ru более не предоставляет возможностей и сервисов по общению пользователей
По 23-5-2020
Портал Hi-Fi.ru более не предоставляет возможностей и сервисов по общению пользователей

