| Цитата |
|---|
| Mr.Yu пишет: вот только производители в своих |
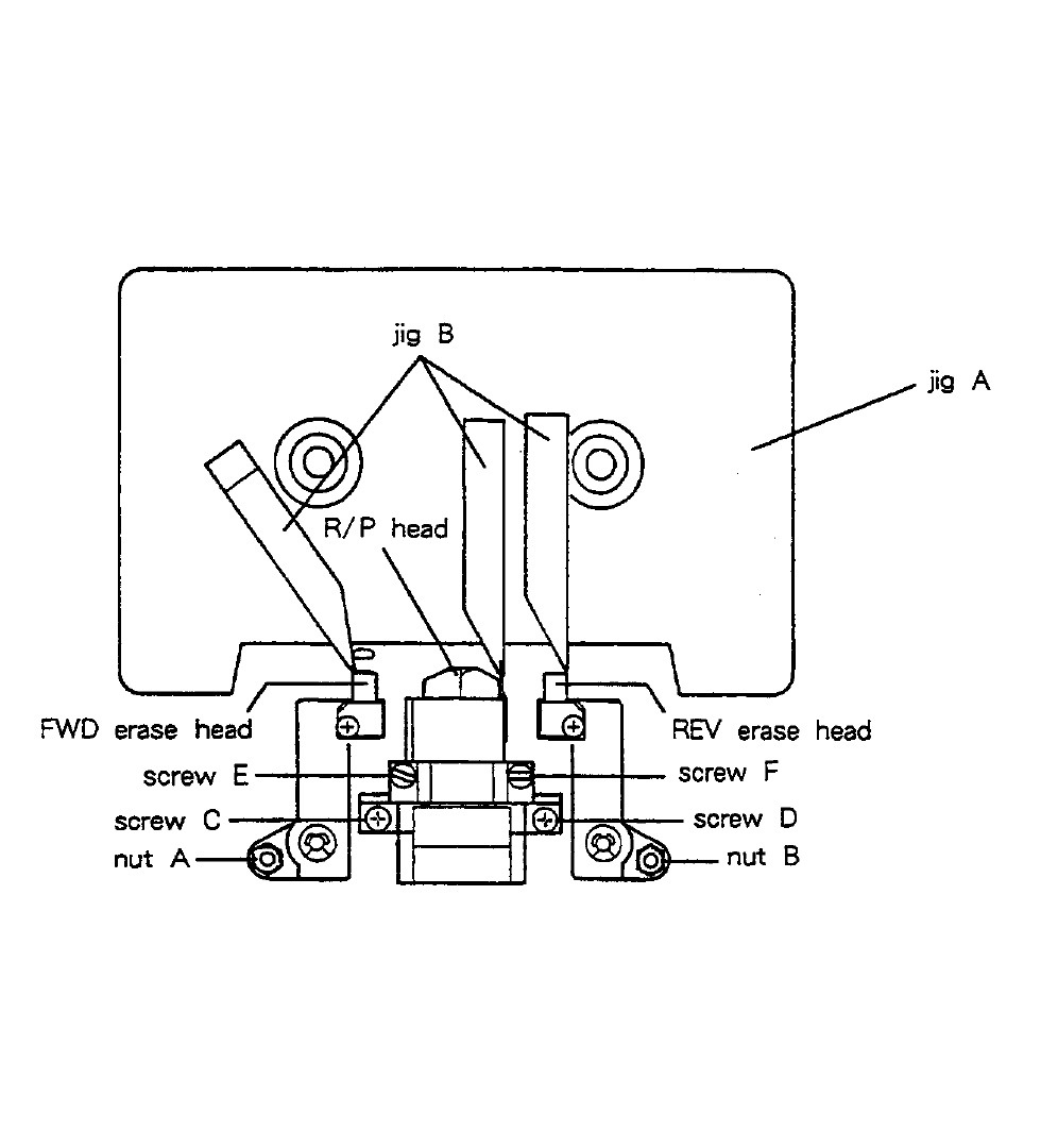
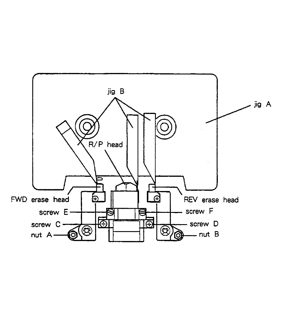
Кроме производителей дек, в свое время существовали производители ЛПМ (в сборе).
М300 несмотря на высокую точность и удобство пользования, вообще крайне редко встречается в СМ, как упоминание настроечного инструмента.
Изменено: - 24-05-2015 23:20:29
H_I_G_H _ B_I_A_S
