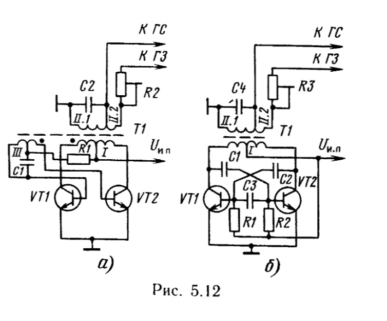
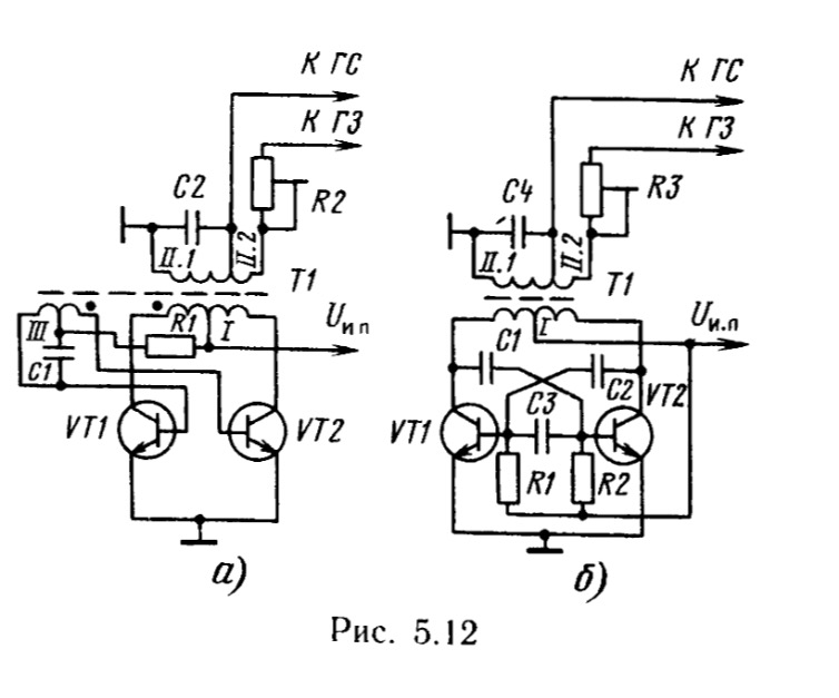
Немного по теме. Трансформатор не панацея. Посмотрел конкретные схемы реализации ГСП в отеч. магнитофонах. В схемах, где ГС подключена к первичной задающей обмотке транса со средним отводом, через который подается питание на схему, постоянка может быть запросто из-за несимметрии плеч транса, неидеальности тр-ров, разброса резисторов в их питании и т.д.
Ниже ссылки высказываний Е. Лукина (друга Н Сухова) и друга С. Агеева из интернета о влиянии несимметрии на шум паузы. Кстати книга, на которую ссылается друг Агеева у меня есть. Могу и там посмотреть тоже, сейчас просто лень за ней лезть.
Ниже ссылки высказываний Е. Лукина (друга Н Сухова) и друга С. Агеева из интернета о влиянии несимметрии на шум паузы. Кстати книга, на которую ссылается друг Агеева у меня есть. Могу и там посмотреть тоже, сейчас просто лень за ней лезть.

