| Цитата |
|---|
| sony metallic Дмитрий написал: Да не звучат они ерунда это всё |
Архив Форума Hi-Fi.ru
По 23-5-2020
Портал Hi-Fi.ru более не предоставляет возможностей и сервисов по общению пользователей
По 23-5-2020
Портал Hi-Fi.ru более не предоставляет возможностей и сервисов по общению пользователей
Операционные усилители для аудио, ОУ особенности и характер звучания без сложных технических терминов
|
29-03-2018 21:41:22
|
|
|
|
|
|
29-03-2018 21:41:41
Не Боги горшки обжигают! (с)
|
|||||||
|
|
|
|
29-03-2018 21:45:47
Не Боги горшки обжигают! (с)
|
|||
|
|
|
|
29-03-2018 21:48:17
LM318 какого производителя отслушивали?
140УД11 чьи? |
|
|
|
|
|
29-03-2018 21:58:19
А я вот решил на дискретном ОУ себе УМ собрать. Никто не слушал такого чуда?
Не Боги горшки обжигают! (с)
|
|
|
|
|
|
29-03-2018 21:59:15
уд11 завода Микрон 88г. а 318-е были производства TI и какие то малазийские.слушал их в УМ.
|
|
|
|
|
|
29-03-2018 22:21:24
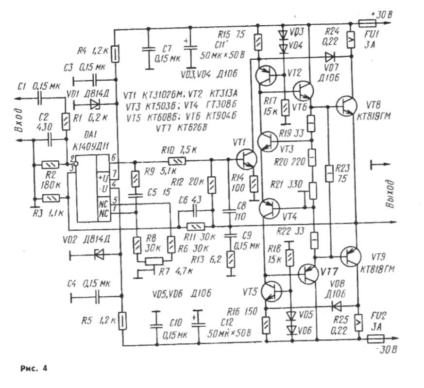
В Радио N9 1987 в статье
«Коммутационные искажения в усилителях мощности ЗЧ» была интересная схема УМ на 140УД11 |
|
|
|
|
|
29-03-2018 22:29:59
ПС Может все же в классе А, типа First Watt F5? Или "классику" в АВ (А) на латералках типа EXICON (Тошибу китайцы уже подделывают лихо, т.к. новых нет)? Правда SJ74 / SK170 стали труднодоставаемы подобранные, но можно переделать на BJT, говорят даже банальные ВС547 / 557 неплохо на входе играют. 2ПС Опять же можно поиграться с токовой ПОС, говорят чудеса творит по звуку.
作りましょう!
|
|||
|
|
|
Архив Форума Hi-Fi.ru
По 23-5-2020
Портал Hi-Fi.ru более не предоставляет возможностей и сервисов по общению пользователей
По 23-5-2020
Портал Hi-Fi.ru более не предоставляет возможностей и сервисов по общению пользователей
