| Цитата |
|---|
| Владимир Владимир пишет: Т.о. вертикальный угол воспроизведения практически всегда подбирается по факту, т.к. оптических приборов для его отслеживания в процессе регулировки не существует |

|
15-11-2013 14:53:44
|
|||||
|
|
|
|
15-11-2013 15:01:54
ГЫ_ГЫ_ГЫ_ГЫ...
1-й Народный комиссар
|
|||
|
|
|
|
15-11-2013 15:03:33
А че не так?
|
|
|
|
|
|
15-11-2013 15:08:45
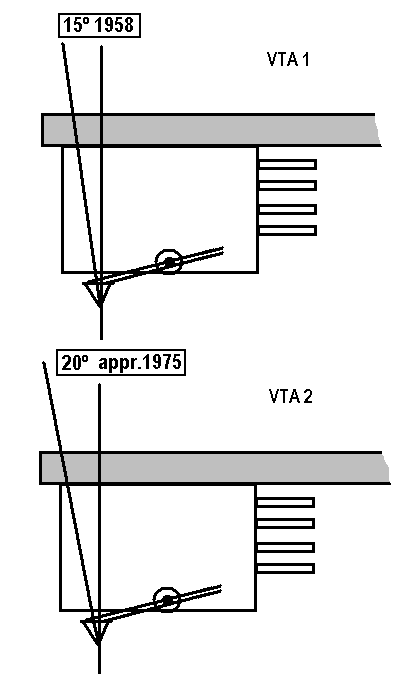
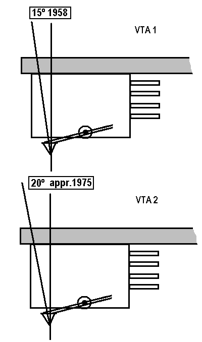
где на рис-ке горизонт пластинки? указан угол между осью иглы и вертикалью, проходящий через конец иглы...
1-й Народный комиссар
|
|
|
|
|
|
15-11-2013 15:10:44
А чего не так? To ensure that everybody used the same angle and distortion was avoided on vertical cuts or modulation a common cutting/playback angle had to be adopted, and after a spell of technical anarchy this became 15° in the United States and 20° in Europe, a tolerance of plus or minus 5° being allowed on the European figure. In fact it does appear that Britain standardised on 15° according to BS1928 :
And sympathy is what we need my friend
'Cause there's not enough love to go 'round (Sympathy, Rare Bird) |
|||||
|
|
|
|
15-11-2013 15:12:19
Очевидно ,что шелл по определению парралелен пласту... Ну на крайняк должен быть.. ![]() --------- Картинка не мной рисована ,но могу пластинку подрисовать для наглядности
Изменено: - 15-11-2013 15:13:25
|
|||
|
|
|
|
15-11-2013 15:14:19
Очевидно, что и игла вклеена строго вертикальна к кантилеверу...
1-й Народный комиссар
|
|||
|
|
|
|
15-11-2013 15:16:03
Справедливо , и что ,теже 15-20 градусов к вертикали. |
|||
|
|
|
|
15-11-2013 15:16:13
Ну хорошо, хорошо, перпендикуляр горизонта пластинки
And sympathy is what we need my friend
'Cause there's not enough love to go 'round (Sympathy, Rare Bird) |
||||
|
|
|
|||