| Цитата |
|---|
| GRAIZE пишет: ...поднастроив свою вертушку, я добился более четкого и равномерного звучания на всей пластинке! И то, это было без всяких весов, миленьких уровней и прочего. |
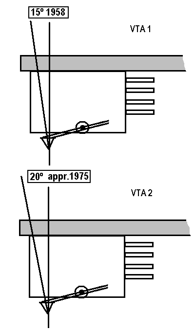
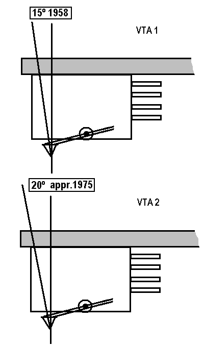
Вам уже говорили, что выравнивать нужно по шеллу, а не по трубке тонарма.
Есть еще один нюанс. Большинство голов предпочитают слегка положительные VTA и лишь единицы - отрицательный. Попробуйте немного добавить высоты тонарма, увеличив VTA,
только совсем чуть-чуть. Послушайте и сравните результат.
Мы здеся не на вопросы отвечаем, а весело и с пользой проводим время!


