| Цитата |
|---|
Veschii Oleg написал: Подъем на СЧ разумеется начинается для хрома и металла раньше, потому что частота настройки у всех типов лент выбрана одинаковой (23кГц). |
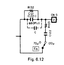
А вот и нет. Частота настройки резонанса в 23 конечно влияет, но не так, как вот это:

R132 C121 на схеме.
При переключении на 1 тип цепь R133 C122 компенсирует этот подъем. Просто слишком большая добротность контура фильтра пробки, чтобы так влиять на подъем на СЧ
На второй пикче как стрелкой указан подъем обусловленный R132 C121
ПС
Ту ты предлагаешь (сделал в Маяке) смещать для 1 типа частоту резонанса на УВЧ чуть ниже, как бы это было при уменьшении скорости ленты?