Архив Форума Hi-Fi.ru
По 23-5-2020
Портал Hi-Fi.ru более не предоставляет возможностей и сервисов по общению пользователей


Страницы: Пред. 1 ... 311 312 313 314 315 ... 1099 След.

Деки NAKAMICHI, Настройка и обсуждение (Part 2)

 
 
Цитата
Mr.Yu  пишет:
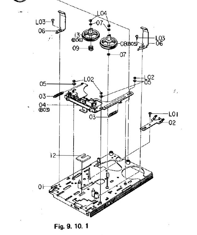
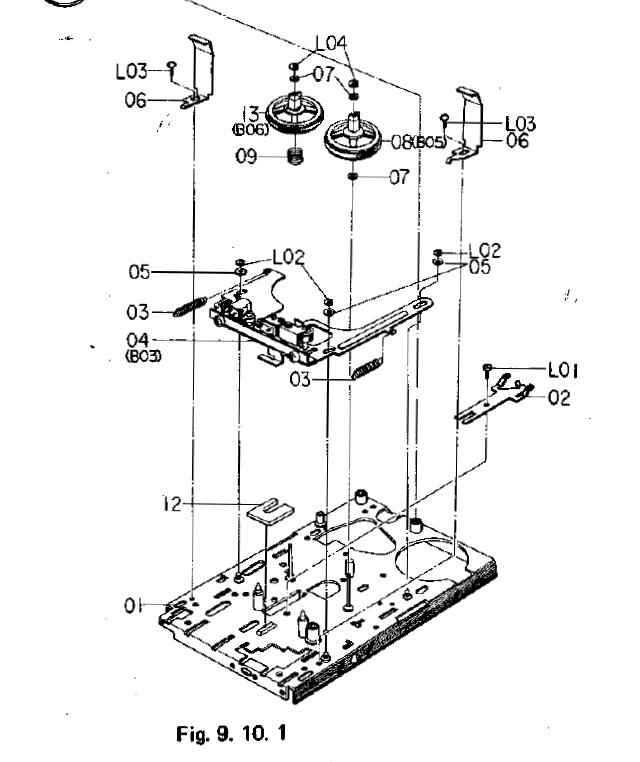
...похоже на модификацию. Пружинка нужна для подтормаживания, а тут смотрю есть кольцо из фетра (именно для этого), которого нет на чертеже.
Дык, тоже возникли сомнения. Треугольная пружина на месте, фетр между шкивом и подкассетником имеется, но фетр на основании как бы намекает, что пружинка лишняя. Не понятно.
C уважением, Сергей.
 
 
Цитата
Сергей Проворов пишет:
но фетр на основании как бы намекает, что пружинка лишняя.  
Именно. И фетра этого на чертеже нет, и смысл его при пружине, которая буде подкассетник наоборот от него отжимать. Скорее всего модификация, и не должно ее там быть.
nak600.JPG (56.37 КБ)
作りましょう!
 
 
Цитата
Андрей  пишет:
До разборки момент подтормаживания замеряли ?
Нет ещё, все настройки впереди, пока просто знакомлюсь с конструкцией, устраняя по ходу мелкие траблы.
C уважением, Сергей.
 
 
Цитата
Mr.Yu  пишет:
Именно. И фетра этого на чертеже нет, и смысл его при пружине, которая буде подкассетник наоборот от него отжимать. Скорее всего модификация, и не должно ее там быть.
На картинке латунные шкивы тоже не отображены, а на них ведь фетр приклеен, который снизу о подкассетник трётся. Я пока не понимаю как вообще этот механизм работает. В моём Пионере 830 подпружинена пластиковая площадка, которая сидит на валу и может перемещаться вдоль него, но вращаться не может. В этом случае очевидна пара трения с регулировкой усилия, а в Наке фетр наклеен на латунный шкив, который свободно вращается на оси. Как он может тормозить подкассетник, если крутится вместе с ним? Не пружина же его тормозит.
C уважением, Сергей.
 
 
Цитата
Mr.Yu  пишет:
Цитата
Ed Uvarov пишет:

Ездил сегодня в Финляндию, купил кассеток студийных Warner Bros, EMI, Finnvox, BMG и т.п. На предмет послушать кто и как записывает кассеты.  
А бобины там студийные продают?

Бобин в продаже не видел. Кассеты попадаются в скупках. :-)

Зашел еще в контору по ремонт телевизоров, увидел на полке пару музыкальных центов с кассетами. Спросил про кассетные деки.
Чувак сначала затупил, потом бодро притащил мне AKAI 34 за 40 евро.
Но голова там была упилена в усмерть, я даже включать не стал.
Сдам в аренду нуждающимся: инвалидную коляску и фильтр для базара.
 
 
Цитата
Ed Uvarov пишет:
Таки у меня вопрос: если понизить скорость воспроизведения источника (с 19 например на 9.5) и записать на 680 Накамичи на 2,38 см/с а потом воспроизводить на стандартной скорости, выигрыш будет?

Если да то какой?
Если нет, то почему?

Что, неужели никто не пробовал?
Давайте тогда теретиков МЗ послушаем :-)
Сдам в аренду нуждающимся: инвалидную коляску и фильтр для базара.
 
 
Цитата
На картинке латунные шкивы тоже не отображены, а на них ведь фетр приклеен, который снизу о подкассетник трётся.  
Вот картинка узла:
Изменено: Сергей Проворов - 10-11-2017 22:07:49
C уважением, Сергей.
 
 
Добавлю доброты в тему :)
01-42.jpg (349.6 КБ)
Why should I care for someone, who doesn't care for me?
 
 
Я имел ввиду вот этот (белый) фетр:

Подкассетник просто лежит на нем, слегка трется. Момент подтормаживания маленький, в пределах 3-8 гр/см обычно.
Тот, что на латунном шкиве (черный) для подмотки, и по-хорошему нужен только на приемном узле. Момент этот обычно 30-50 гр/см и он определяется усилием пружинки, той, что у Вас на фото (она же по совместительству для подпружинивания "звездочки").

На втором (подающем) шкив не используется. Ну а момент перемотки регулируется усилием лепестковой (треугольной) пружины на подкассетнике. Он обычно 70-120 гр/см.
Изменено: Mr.Yu - 10-11-2017 23:28:49
作りましょう!
 
 
Все, теперь все понял (посмотрел СМ). Это действительно модификация. Раньше белого фетра не было, и латунного шкива на подающем узле тоже. Вместо латунного шкива была как раз пружинка и шайба. Пружинка поджимала шайбу к подкассетнику обеспечивая ее трение о него и тем самым подтормаживание. В Вашем же ЛПМ это трение обеспечивает стоящий на подающем узле латунный шкив (такой же, как на приемном) о белый фетр.
作りましょう!
Страницы: Пред. 1 ... 311 312 313 314 315 ... 1099 След.
Архив Форума Hi-Fi.ru
По 23-5-2020
Портал Hi-Fi.ru более не предоставляет возможностей и сервисов по общению пользователей

1997—2026 © Hi-Fi.ru (Лицензионное соглашение)