Архив Форума Hi-Fi.ru
По 23-5-2020
Портал Hi-Fi.ru более не предоставляет возможностей и сервисов по общению пользователей


Страницы: Пред. 1 ... 725 726 727 728 729 ... 1099 След.

Деки NAKAMICHI, Настройка и обсуждение (Part 2)

 
 
Максимум что куплю еще
ATLAS семикондактер аналайзер новый с USB интерфейсом
а предыдущий их аналайзер у меня есть
 
 
Еще вот такой сам делал из ELEKTORа
 
 
Цитата
Олег Masterok написал:
очень красиво красные индикаторы перемигиваюццо.
ну да. каждому своё.
Ушел до лучших времен
 
 
Цитата
Triac написал:
 
 
 
 
Цитата
ремонт-NIK написал:
Юра, не ипите моск.Нет там бочкибочкообразные легко видно за метра на наковских, резина чуть вспухла по следу от ленты, это естьбочки нет
Да в родном СМ они даже бочками нарисованы!  :D
pinch rollers.jpg (126.57 КБ)
作りましょう!
 
 
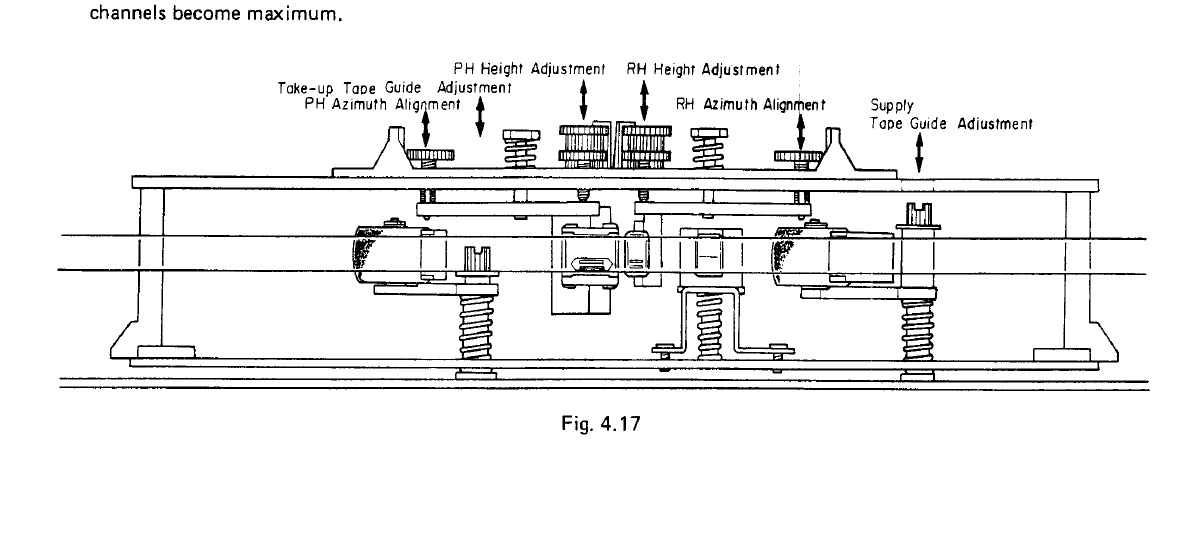
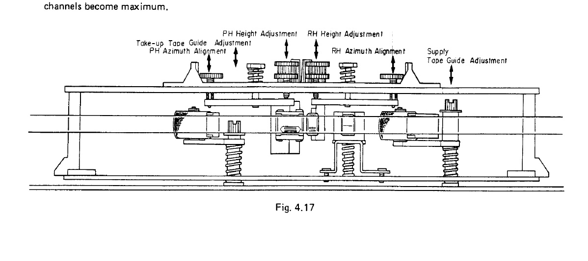
Народ, а подскажите по bias trap в УЗ. Накамича 582Z у мене какая то странная попалась. 100% с завода, не ремонтированая, но оба сердечника режекторных фильтров-ловушек УЗ L106, L206 вкручены "до упора" . При выкручивании напряжение только растет. Минимальное значение порядка 0,6В эфф на выходе ОУ. Но меньше сделать не могу, сердечники упираются. Подобрать емкости контура C128 (C228)? На сколько (точнее до какого как правило напряжения) должен ослаблять режекторный фильтр? В УВ все прекрасно настроилось на минимум, а тут засада. И второе, по резонансу УЗ на 23К. Стал делать по СМ, т.е. подал 23К -20дБ на вход, стал ловить максимум подстраивая L105 (L205), еле поймал, ну очень слабо выражен, только цифровым вольтметром смог, как они предлагают это стрелочным VTVM делать, не понятно. АЧХ УЗ вроде похожа на приведенной в СМ, справа отн максимума несимметрия правда.
作りましょう!
 
 
30-45мВ после ФП обычно  
 
 
А частота ГСП правильная? Может в этом засада?
 
 
Да, это я первым делом выставил. Но там она и была  105.2, выставил ровно 105
作りましょう!
Страницы: Пред. 1 ... 725 726 727 728 729 ... 1099 След.
Архив Форума Hi-Fi.ru
По 23-5-2020
Портал Hi-Fi.ru более не предоставляет возможностей и сервисов по общению пользователей

1997—2026 © Hi-Fi.ru (Лицензионное соглашение)