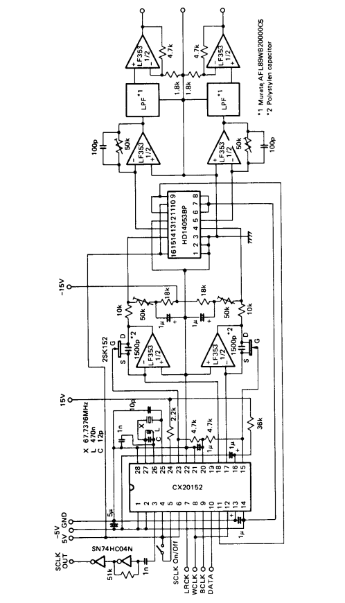
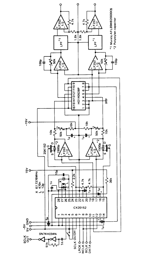
Получил акай сд-а70 . Аппарат был куплен для исследования характера звучания первых цап . Marantz CD-73 TDA1540 , Akai CD-M515 CX20133 у меня есть и было интересно сравнить звук СХ20133 и СХ20152 . Ну на вскидку можно сказать , что сд-А70 звучит очень прилично , если учитывать возраст и предпочтения акаевских инженеров к несколько яркому звуку . Тембральный баланс очень хороший , синтетики нет вовсе , с артикуляцией все в порядке . Вокал звучит ярковато , с маленьким налетом , высокие с легкими сибилянтами . Стереобаза очень широкая , хорошо эшелонированная . В общем вполне приличный звук , очень приятный и не утомляющий . Позже расслушаю более внимательно и отпишусь . Это не реклама , аппарат продаваться не будет .))) Сравню с меридианом 508.20 , акай сд-м515 , маранц сд-73 , пио пд-7300 , онкио 6620 .
Изменено: - 18-11-2011 18:56:46
