Архив Форума Hi-Fi.ru
По 23-5-2020
Портал Hi-Fi.ru более не предоставляет возможностей и сервисов по общению пользователей


Страницы: Пред. 1 ... 4 5 6 7 8 9 След.

Регулировка срабатывания автостопа в Pioneer PL50L, прошу совет: как настроить? слишком рано срабатывает сейчас

 
 
 
Цитата
Игорь Gaudy написал:
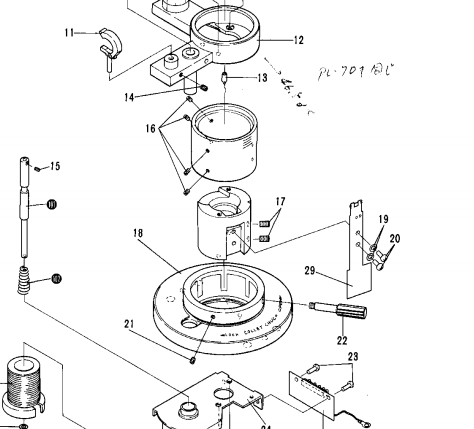
Закис или заклинило узел фиксации тонарма.

Что там в 18-ой детали может закиснуть, кроме 21 и 22 [винта-стопора]?




Вот в PL70 опора вращалась спец ключом.

 
Изменено: Георгий Соколов - 11-11-2018 18:14:46
 
 
Выкручивайте винты 21. Потом пытайтесь выкрутить направляющую, она вкручивается в площадку 18. Там закисает латунная распорная вставка.
 
 
Цитата
Сергей Сергей написал:
То есть всё поднималось и опускалось и вдруг заклинило?
Такой пришёл с о страны Восходящего солнца.
 
 
Всем спасибо за ответы, не ожидал.
Заливал ВД-40 в субботу, результата ни какого.
Попробую сделать как описано в ответах о результате отчитаюсь.
 
 
Цитата
Георгий Соколов написал:
 
Цитата
Игорь Gaudy написал:
Закис или заклинило узел фиксации тонарма.
 
Что там в 18-ой детали может закиснуть, кроме 21 и 22 [винта-стопора]?

   


Вот в PL70 опора вращалась спец ключом.
Больной PL-70LII , у него как видно на рисунке - с рычагом.
 
 
Цитата
Вячеслав Винилов написал:
Выкручивайте винты 21. Потом пытайтесь выкрутить направляющую, она вкручивается в площадку 18. Там закисает латунная распорная вставка.
Вячеслав, направляющая на рисунке указана,?
 
 
Цитата
Игорь Gaudy написал:
Такой пришёл с о страны Восходящего солнца.
Возможно окись и ржавчина..Попробуйте простое народное ср-во,это WD-40.Наберите её в шприц и налейте немного в зазор,между штком тонарма и базой.Только не из трубки,а то забрызгаете всё вокруг,что нужно,что ненужно..,из иглы,аккуратно.Отмочите всё это добро в течении нескольких часов,а потом пробуйте,только без фанатизма.Должно всё получиться.
Отрыв от народа и...падение!

 
 
Цитата
Игорь Gaudy написал:
Заливал ВД-40 в субботу, результата ни какого.
Не видел Вашего поста,написав про ВД-40.
Отрыв от народа и...падение!

 
 
Да. Это кольцо, в которую вкручиваются винты 21. Лет 10 назад ко мне тоже пришел такой аппарат с нераскручивающейся опорой. Помню, что выкручивал винты, потом смог выкрутить направляющую и снять пружинную латунную втулку. Почистил, смазал, все заработало. Запоминайте, как собраны детали.
 
 
Направляющая (кольцо) полностью выкручивается против часовой стрелки из опоры 18.
Страницы: Пред. 1 ... 4 5 6 7 8 9 След.
Архив Форума Hi-Fi.ru
По 23-5-2020
Портал Hi-Fi.ru более не предоставляет возможностей и сервисов по общению пользователей

1997—2026 © Hi-Fi.ru (Лицензионное соглашение)