| Цитата |
|---|
| Vlad Nnn пишет: конструкции вроде идентичные только добавили автоматику. |

|
02-11-2014 16:50:54
"Деньги есть, а времени нет" - Михаил Жванецкий
|
|||
|
|
|
|
02-11-2014 17:10:21
Вещий Олень:
Числилась как "модель 930 ST". Запомнилось по ST как Stanton. Но на самом деле ЕМT. |
|||
|
|
|
|
02-11-2014 17:40:03
ну кварцевую стабилизацию можно пережить - этот держит обороты и так хорошо, а вот тонарм по высоте это иногда надо, но как говориться что имеем то имеем.
насчёт установки головки - я собираюсь выставить "на 52мм" как указано в мануале, шаблон строить не хочется, или есть каке противоречия?
"Деньги есть, а времени нет" - Михаил Жванецкий
|
|
|
|
|
|
02-11-2014 17:54:07
|
|||
|
|
|
|
02-11-2014 18:23:22
с оверхангом понятно,а угол захода диктуется шеллом - надо закрепить головку строго параллельно шеллу, не так-ли?
"Деньги есть, а времени нет" - Михаил Жванецкий
|
|||
|
|
|
|
02-11-2014 23:11:55
Ну если быть совсем уж дотошным, то поворотный узел тонарма в 1300м ,посравнению с великим и ужасным, тоже немного упрощён. Без упрощения его повторяли в верхнем сегменте среднего класса. типа SL-2,3
Но это, на меломанском уровне, как говориться "на скорость не влияет"
Изменено: - 02-11-2014 23:12:21
|
|
|
|
|
|
09-11-2014 23:01:07
подскажите кто щупал - имеет опыт по 1300 и вообще по Техниксам автоматам.
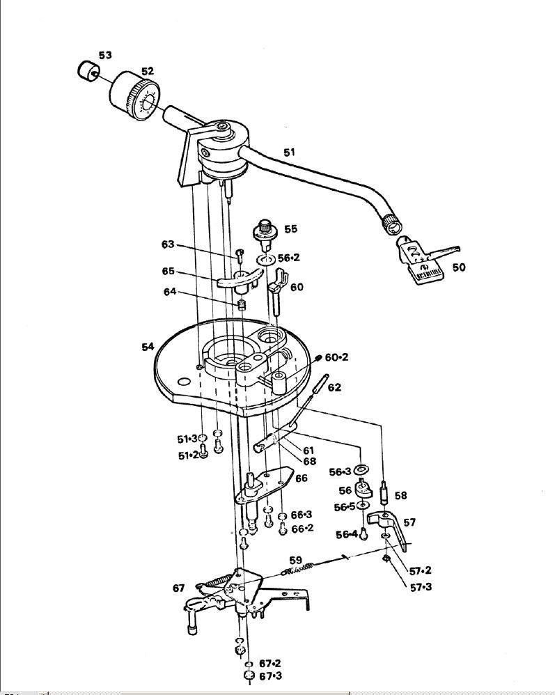
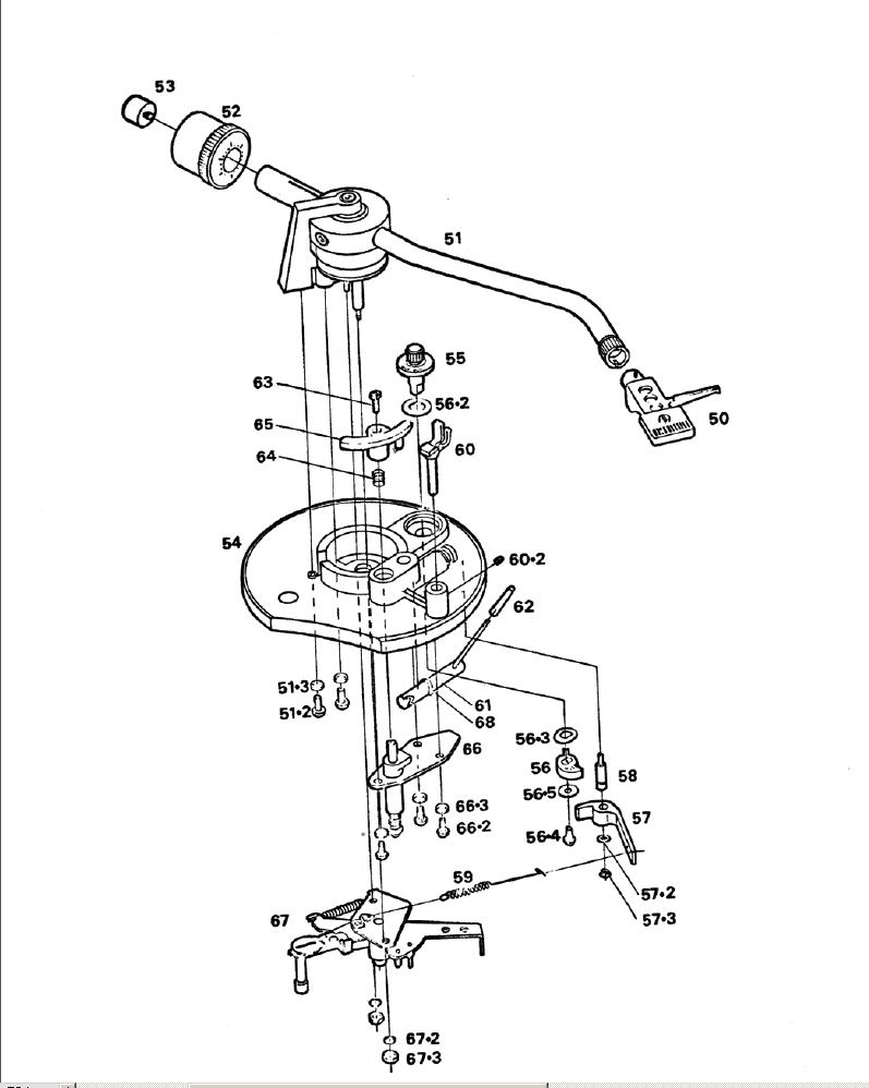
хочу заменить демпферную смазку в микролифте, снял нижнюю крышку и вижу что к тонарму напрямую доступа нет, нужно снимать плату (SP 130E) с механикой автомата, возникают сразу вопросы: - можно ли снять эту плату без проблем, т.е. не скинется там какой-то рычажок, тяга и тп и потом поставить на место будет проблемой (метки и тп?)? весь этот механизм на плате связан с тонармом - микролифтом - рычагами управления на морде и тп. - проводка тонарма очень тонкая и идёт через отверстие в плате, по логике я думаю сначала установили плату автомата а затем припаяли проводку на колодку - те нужно отпаять сначала эти волоски иначе при снятии платы очень велик риск повредить их? - может есть способ смазать микролифт сверху? открутить болтик настройки высоты микролифта (#63) вынуть коромыслоб пружинку и тд??? если кто уже прошел этот путь подскажите пожалуйста
Изменено: - 09-11-2014 23:07:56
"Деньги есть, а времени нет" - Михаил Жванецкий
|
|
|
|
|
|
18-10-2018 15:30:19
Ребята, а можно ли на этом проигрывателе скрэтчить? Ну соответственно с необходимым слипматом. Хватит ли у двигателя мощности?
|
|
|
|
|
|
18-10-2018 15:41:03
|
||||
|
|
|
|||