подскажите кто щупал - имеет опыт по SL-1300 мк1 и думаю вообще по Техниксам автоматам.
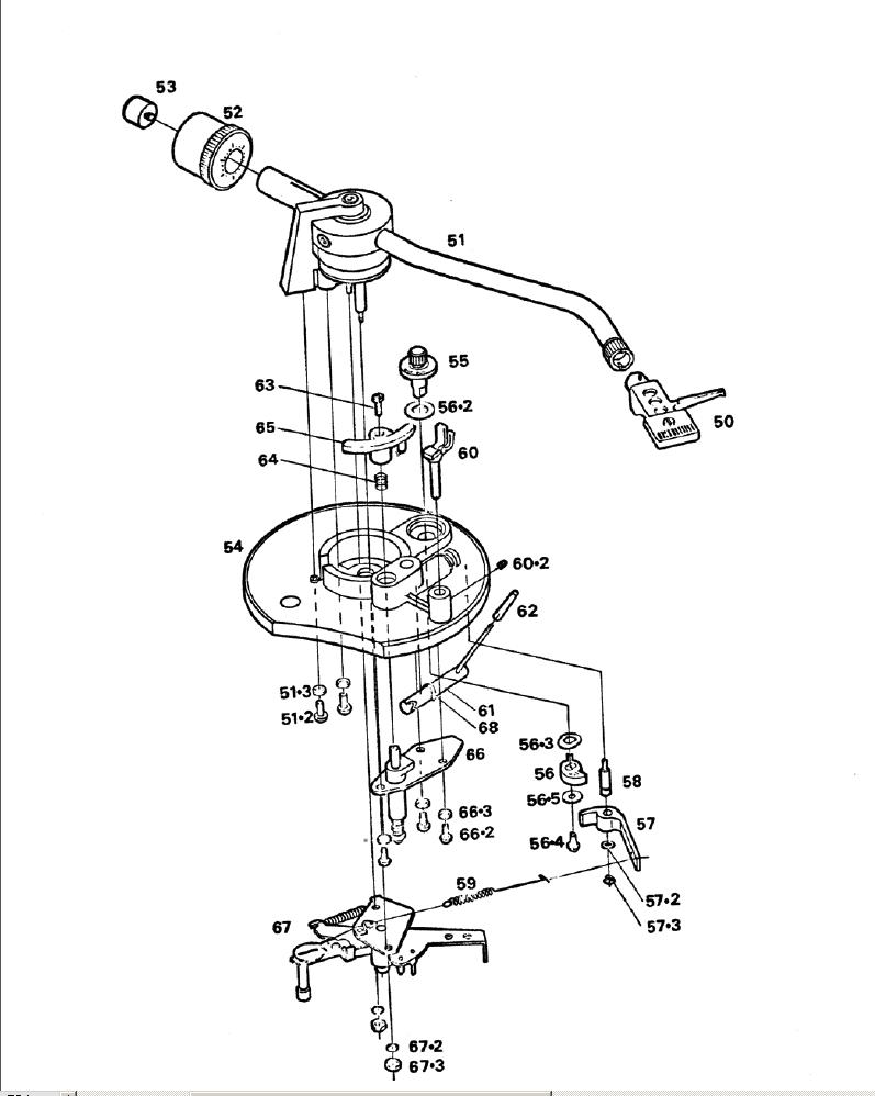
хочу заменить демпферную смазку в микролифте, снял нижнюю крышку и вижу что к тонарму напрямую доступа нет, нужно снимать плату (SP 130E) с механикой автомата, возникают сразу вопросы:
- можно ли снять эту плату без проблем, т.е. не скинется там какой-то рычажок, тяга и тп и потом поставить на место будет проблемой (метки и тп?)? весь этот механизм на плате связан с тонармом - микролифтом - рычагами управления на морде и тп.
- проводка тонарма очень тонкая и идёт через отверстие в плате, по логике я думаю сначала установили плату автомата а затем припаяли проводку на колодку - те нужно отпаять сначала эти волоски иначе при снятии платы очень велик риск повредить их?
- может есть способ смазать микролифт сверху? открутить болтик настройки высоты микролифта (#63) вынуть коромысло, пружинку и тд???
в сервис мануале этого нет, те порядок сборки - разборки и тп отсутствует.
остаётся надеяться только на практический опыт того кто уже проходил этот путь.
??
хочу заменить демпферную смазку в микролифте, снял нижнюю крышку и вижу что к тонарму напрямую доступа нет, нужно снимать плату (SP 130E) с механикой автомата, возникают сразу вопросы:
- можно ли снять эту плату без проблем, т.е. не скинется там какой-то рычажок, тяга и тп и потом поставить на место будет проблемой (метки и тп?)? весь этот механизм на плате связан с тонармом - микролифтом - рычагами управления на морде и тп.
- проводка тонарма очень тонкая и идёт через отверстие в плате, по логике я думаю сначала установили плату автомата а затем припаяли проводку на колодку - те нужно отпаять сначала эти волоски иначе при снятии платы очень велик риск повредить их?
- может есть способ смазать микролифт сверху? открутить болтик настройки высоты микролифта (#63) вынуть коромысло, пружинку и тд???
в сервис мануале этого нет, те порядок сборки - разборки и тп отсутствует.
остаётся надеяться только на практический опыт того кто уже проходил этот путь.
??
"Деньги есть, а времени нет" - Михаил Жванецкий
