| Цитата |
|---|
| Michl K пишет: и игла при воспроизведении практически перпендикулярна плоскости пластинки: |
Архив Форума Hi-Fi.ru
По 23-5-2020
Портал Hi-Fi.ru более не предоставляет возможностей и сервисов по общению пользователей
По 23-5-2020
Портал Hi-Fi.ru более не предоставляет возможностей и сервисов по общению пользователей
Новодельные головки , опыт прослушивания, впечатления
|
06-08-2015 14:32:18
|
|
|
|
|
|
06-08-2015 14:47:11
|
|||
|
|
|
|
06-08-2015 15:22:10
Я этим не заморачиваюсь вообще. По всем канонам всё это хозяйство надо настраивать, регулировать высоту тонарма и т.д. Надо понимать, что изменяя прижимную силу изменяется и ВТА. Поэтому, имея электронный прижим в тонарме, я просто кручу прижим на лету и на слух. Как правило пойманное на слух положение совпадает с рекомендованным прижимом. Такая "настройка" занимает времени около минуты. |
|||
|
|
|
|
06-08-2015 15:36:23
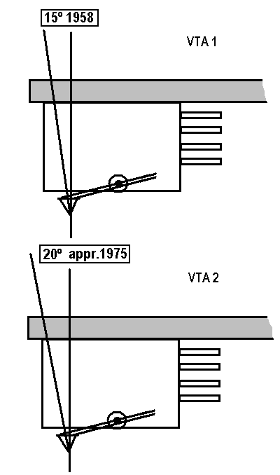
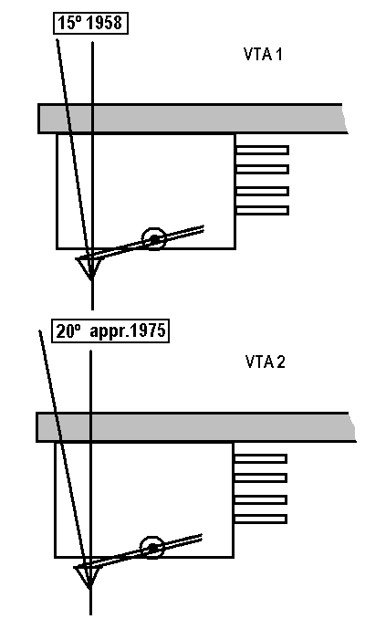
Горы не горы, а я не представляю как нужно жопу тонарма задрать регулировкой vta, чтобы игла была под 20° к пластинке... При тонарме 245мм получается 9см от параллельного положения тонарма. У кого такая регулировка есть? |
|||||
|
|
|
|
06-08-2015 16:16:08
вот конус под элипс или микролайн надфилем переточить, тоже намаешься... ![]() |
|||
|
|
|
|
06-08-2015 22:57:52
Именно ВТА. Резец должен быть наклонен как плуг. Игла - так же. И этот наклон именно 15-22грд. Если перпендикулярно - неправильно. |
|||
|
|
|
|
06-08-2015 23:06:54
Изменено: - 06-08-2015 23:09:54
|
|||||||
|
|
|
|
07-08-2015 00:01:01
Ну вот где здесь угол 20° иглы к кантилеверу?
Изменено: - 07-08-2015 00:06:56
|
|||||||||
|
|
|
|
07-08-2015 07:26:10
Вот хороший материал.
There are various kinds of audience imaginable about the actual effects of tweak or adjustment: 1. One cannot perceive the effect and express it frankly. 2. One cannot perceive the effect but keep silence or pretend to hear the effect as in the case of "The Emperor's New Clothes" (audiophiles or readers have often fixed idea or taboo or culture influenced by books and other sources). 3. One can perceive the change of sound, but cannot attribute it to a specific reason since actual sound results from the compound of various distortions or complex reasons. 4. One can perceive the change of sound and attribute it to a predetermined reason. In vinyl reproduction I feel group 3 is most common. I find there is no difference between group 1 & 4 actually when the change of sound is small. Every analog system sounds different each other. There is no objective index in personal appreciation. Какие выводы? Practical considerations (common sense): there is no reliable tweak which can be generally applied on every cartridge/arm. There are too many variations in the make of tip shape, damper, mechanical/geometric/physical construction of arm/cartridge. Frankly speaking products allowances are much wider and problematic than nominal specification or theoretical calculation. Hence I can only suggest some commonplaces as under: 1. Mount the cartridge top face horizontal when playing the records. There is variation in record thickness (the recorded area). But you have no need to worry about thickness variation since the warp rate of actual records is often more than 0.8mm. 2. Adjust the downforce of arm at cartridge tip as recommended for a cartridge. The recommended VTF for a cartridge has usually allowance +/-20% from the middle (optimum?) and practically +/-50% can be allowed for some cartridges. Too much deviation from the recommended VTF shall affect sound quality because the generating element (magnet or coil) shall be shifted from the centre of generating system (the location of push-pull linearity). Please imagine what shall occur on speaker (woofer) when amplifier output contains high residual DC voltage more than 0.2V: speaker coils are biased. 3. AND forget about VTA/SRA/VTF issues and reproducing system itself and enjoy the music as you like - the last is most important. Pudding is made to be eaten, not to be discussed how to eat this way or that way. ПУДИНГ СДЕЛАН ДЛЯ ТОГО, ЧТОБЫ ЕГО ЕСТЬ, А НЕ ОБСУЖДАТЬ КАК ЕГО ЕСТЬ. Я сам пробовал измерять VTA на своих головках (крестьянским способом - делал макрофото под номинальной нагрузкой и в Photoshop-е мерил угол. Точность по-моему вполне достаточная, но ни один подвес не показал угол который должен у него быть по спецификации). |
||||
|
|
|
|||
Архив Форума Hi-Fi.ru
По 23-5-2020
Портал Hi-Fi.ru более не предоставляет возможностей и сервисов по общению пользователей
По 23-5-2020
Портал Hi-Fi.ru более не предоставляет возможностей и сервисов по общению пользователей

