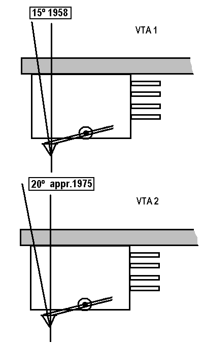
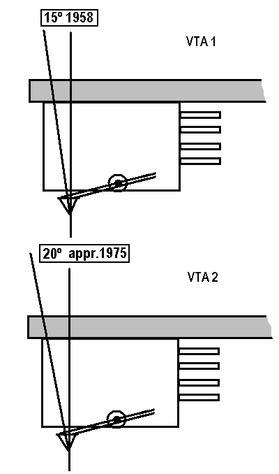
Угол захода иглы
Архив Форума Hi-Fi.ru
По 23-5-2020
Портал Hi-Fi.ru более не предоставляет возможностей и сервисов по общению пользователей
По 23-5-2020
Портал Hi-Fi.ru более не предоставляет возможностей и сервисов по общению пользователей
Empire 4000
|
20-03-2016 12:42:11
|
|
|
|
|
|
20-03-2016 12:42:20
|
|||
|
|
|
|
20-03-2016 12:42:43
|
|||||
|
|
|
|
20-03-2016 12:43:47
|
|||
|
|
|
|
20-03-2016 12:52:50
Когда шелл параллельно,получается так. Почти брюхом на пластинке.
Изменено: - 20-03-2016 12:53:48
|
|
|
|
|
|
20-03-2016 12:54:44
А здесь видно что тонарм задран
|
|
|
|
|
|
20-03-2016 13:02:16
но внешне , все Ок! ![]() |
|||
|
|
|
|
20-03-2016 13:04:36
Не а, точно задран. Нужно визуально ориентироваться на то, чтобы конус алмаза был строго вертикально опущен, без завала вперёд или назад. |
|||||
|
|
|
|
20-03-2016 13:06:18
Изменено: - 20-03-2016 13:07:33
|
||||
|
|
|
|||
Архив Форума Hi-Fi.ru
По 23-5-2020
Портал Hi-Fi.ru более не предоставляет возможностей и сервисов по общению пользователей
По 23-5-2020
Портал Hi-Fi.ru более не предоставляет возможностей и сервисов по общению пользователей


