Нижния страница это от к 154 уд 2
Архив Форума Hi-Fi.ru
По 23-5-2020
Портал Hi-Fi.ru более не предоставляет возможностей и сервисов по общению пользователей
По 23-5-2020
Портал Hi-Fi.ru более не предоставляет возможностей и сервисов по общению пользователей
Крутые магнитофоны, Фото, описания, нюансы
|
11-05-2017 21:35:25
|
|
|
|
|
|
11-05-2017 21:38:08
|
|||
|
|
|
|
12-05-2017 11:33:39
У 157 резкий не приятный звук с тяжелыми гулкими басами
У 4558 резкий не приятный звук меняющий сцену У 4580 пустой выхалащеный резковатый звук У 5218 круглый мягкий с не прозрачными верхами,утомительный из за не хватки информативности У ne 5532 виниловый натуральный звук с окрашеной серединой и слегка слащавый |
|
|
|
|
|
12-05-2017 12:06:36
![]() |
|||
|
|
|
|
12-05-2017 12:40:34
|
|||
|
|
|
|
12-05-2017 13:03:31
Но вообще то в Радиоежегоднике-86, страниц 25 ... А карту как зовут все таки?
Изменено: - 12-05-2017 13:05:00
|
|||
|
|
|
|
12-05-2017 13:16:25
Кстати в чем улучшение произошло в УД3?
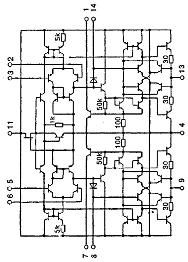
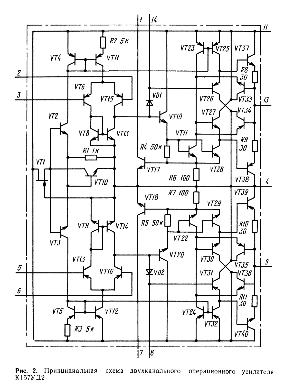
Схемы К157УД2 и К157УД3 совпадают чуть более чем полностью |
|
|
|
|
|
12-05-2017 13:17:35
|
|||||
|
|
|
|
12-05-2017 13:20:40
|
||||
|
|
|
|||
Архив Форума Hi-Fi.ru
По 23-5-2020
Портал Hi-Fi.ru более не предоставляет возможностей и сервисов по общению пользователей
По 23-5-2020
Портал Hi-Fi.ru более не предоставляет возможностей и сервисов по общению пользователей

