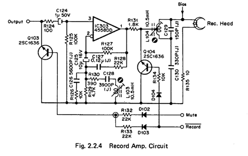
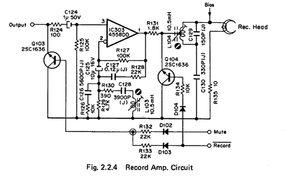
Кто подскажет надо ли при замене ОУ njm4558 на иной в Nak582 и подобных, менять кондеры С124 и С125 на неполярные, т.к. вроде у 4558 вход на PNP, а у большинства современных NPN?
Архив Форума Hi-Fi.ru
По 23-5-2020
Портал Hi-Fi.ru более не предоставляет возможностей и сервисов по общению пользователей
По 23-5-2020
Портал Hi-Fi.ru более не предоставляет возможностей и сервисов по общению пользователей
Деки NAKAMICHI, Настройка и обсуждение (Part 2)
|
21-01-2018 13:58:37
|
|
|
|
|
|
21-01-2018 14:55:03
Андрей, на каком и что должно случиться с напряжением? Сорри за нубство.
|
|
|
|
|
|
21-01-2018 23:13:44
а про напряжение - имеется в виду, что надо замерить полярность постоянки на 3-ем пине ОУ относительно земли до и после замены?
Изменено: - 21-01-2018 23:14:37
|
|
|
|
|
|
22-01-2018 00:17:15
Да. И посмотреть, чтобы перепад напряжений соответствовал полярности кондера.
|
|
|
|
|
|
22-01-2018 13:39:53
Интересно, от чего дохнут датчики Холла? Попался Дракон, а там умерли сразу все 4 штуки. Симптомы: не крутились движки совсем. Я лично впервые сталкиваюсь с убитыми датчиками, а тут аж все 4. Аппарат не копанный, просто долго где то лежал.
|
|
|
|
|
|
22-01-2018 14:22:26
Статика? Зима - самое время для этого
作りましょう!
|
|
|
|
|
|
22-01-2018 18:21:30
Юр, интересно, какой силы должна быть статика, чоб убить ДХ стоящий внутри двигателя..
Где ее взять такую статику, даже зимой??
Hi_B_ _C.F._
|
|
|
|
|
|
22-01-2018 18:26:04
При том, что все разъёмы надеты, а сами датчики хорошо закрыты металлом. |
|||
|
|
|
|
22-01-2018 22:00:00
Уважаемые мастера подскажите пожалуйста. На дисплее Nakamichi 700zxl есть несколько очень тускло подсвеченных символов. Лечится ли это? Очень бы хотел связаться с Анатолием Петровым по поводу сервиса. Спасибо.
|
||||
|
|
|
|||
Архив Форума Hi-Fi.ru
По 23-5-2020
Портал Hi-Fi.ru более не предоставляет возможностей и сервисов по общению пользователей
По 23-5-2020
Портал Hi-Fi.ru более не предоставляет возможностей и сервисов по общению пользователей
