И да
давай разберем что ты написал
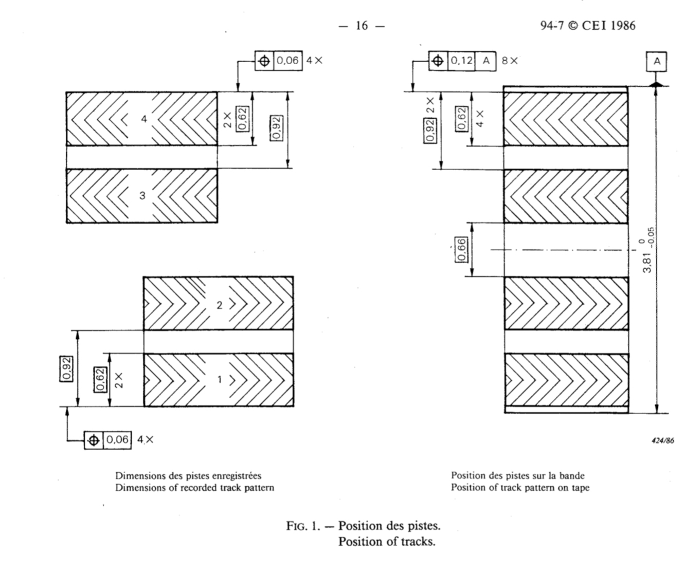
1. Рисунок дорожек приведен Суховым из стандарта IEC
2. Это один из способов
3. Согласен многовато для К157УЛ1А
4. Сухов не писал на метал - только I и II в его тесте
Почитай книгу еще раз по трезвому
давай разберем что ты написал
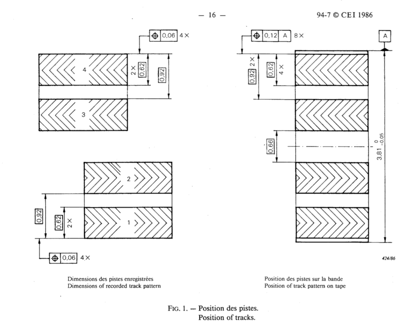
1. Рисунок дорожек приведен Суховым из стандарта IEC
2. Это один из способов
3. Согласен многовато для К157УЛ1А
4. Сухов не писал на метал - только I и II в его тесте
Почитай книгу еще раз по трезвому
