Следующая порция информации
Архив Форума Hi-Fi.ru
По 23-5-2020
Портал Hi-Fi.ru более не предоставляет возможностей и сервисов по общению пользователей
По 23-5-2020
Портал Hi-Fi.ru более не предоставляет возможностей и сервисов по общению пользователей
Деки NAKAMICHI, Настройка и обсуждение (Part 2)
|
31-10-2019 14:08:10
|
|
|
|
|
|
31-10-2019 14:09:34
P.S.Можете назвать меня "земляным червяком" - если станет легче...на душе... |
|||
|
|
|
|
31-10-2019 14:13:57
Да мне нет смысла вас так называть
лучше опытом делитесь с малышами а не педагогическими штампами |
|
|
|
|
|
31-10-2019 14:18:12
|
|||
|
|
|
|
31-10-2019 14:23:49
проблема всех этих авторов одна: у нас фактически не разрабатывали ЛПМ кассетников. Все решения заимствовали. |
|||
|
|
|
|
31-10-2019 14:31:23
作りましょう!
|
|||
|
|
|
|
31-10-2019 14:32:02
Толь горячо любимая нами с тобой Накамича
выпустила всего 3 типа ЛПМ: 1. Три трейсеры 2. Шестисотки/пятисотки 3. ЛПМ-II все Кореш 4. Это уже Санкио со своими местными модификациями |
|
|
|
|
|
31-10-2019 14:32:25
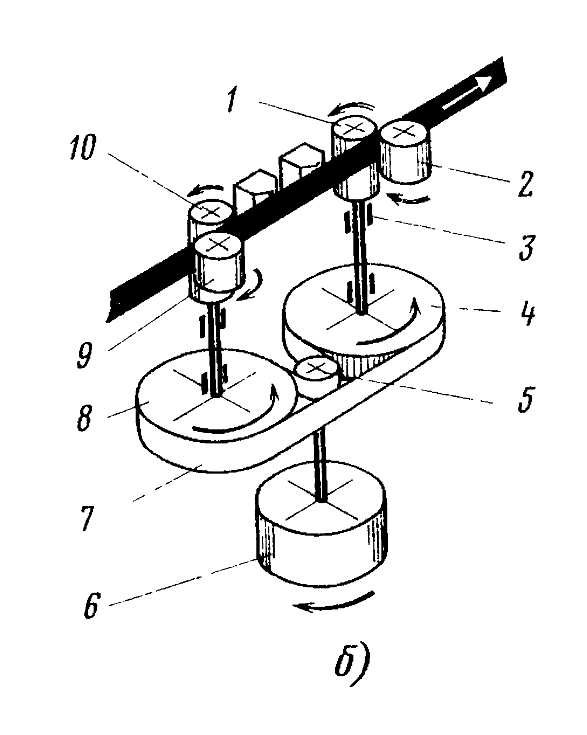
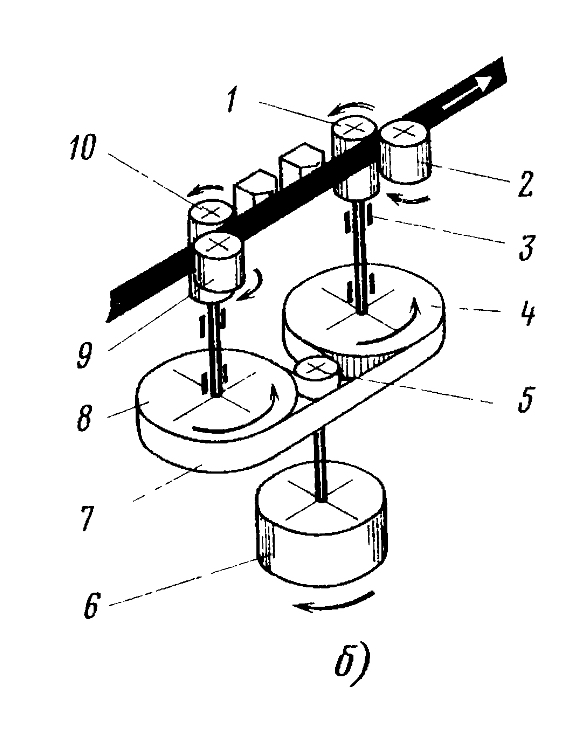
Вроде как написано, что двигатель крутит маховики с помощью "шкива и ремня", т.е. должен в ту же сторону крутиться..... |
|||
|
|
|
|
31-10-2019 14:33:29
作りましょう!
|
|||
|
|
|
|
31-10-2019 14:34:47
作りましょう!
|
||||
|
|
|
|||
Архив Форума Hi-Fi.ru
По 23-5-2020
Портал Hi-Fi.ru более не предоставляет возможностей и сервисов по общению пользователей
По 23-5-2020
Портал Hi-Fi.ru более не предоставляет возможностей и сервисов по общению пользователей
