Архив Форума Hi-Fi.ru
По 23-5-2020
Портал Hi-Fi.ru более не предоставляет возможностей и сервисов по общению пользователей


Страницы: Пред. 1 ... 25 26 27 28 29 ... 32 След.

Самые дорогие на сегодня кассетные деки, нужна помощь зала! :)

 
 
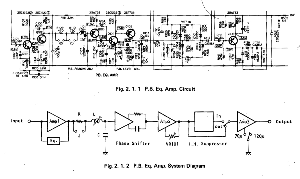
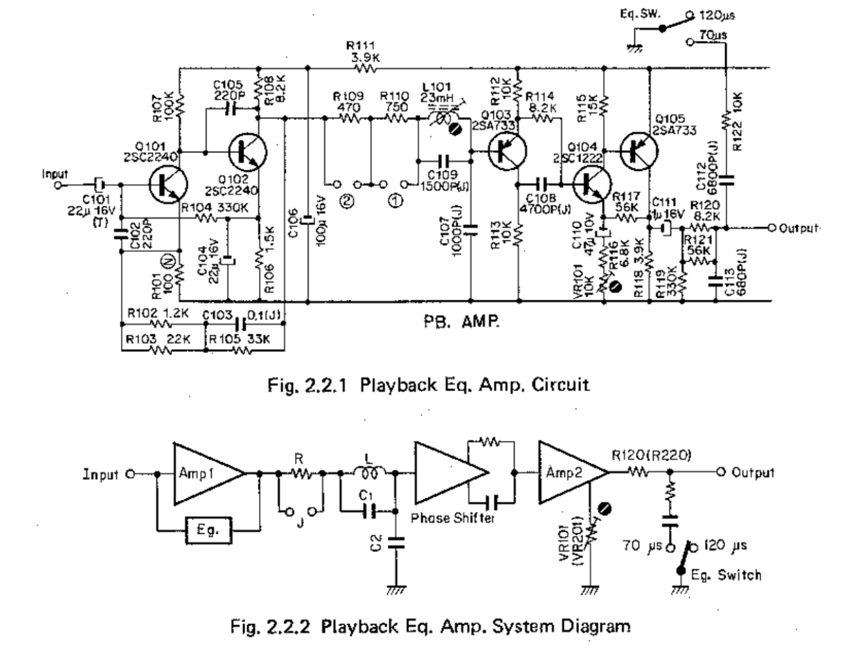
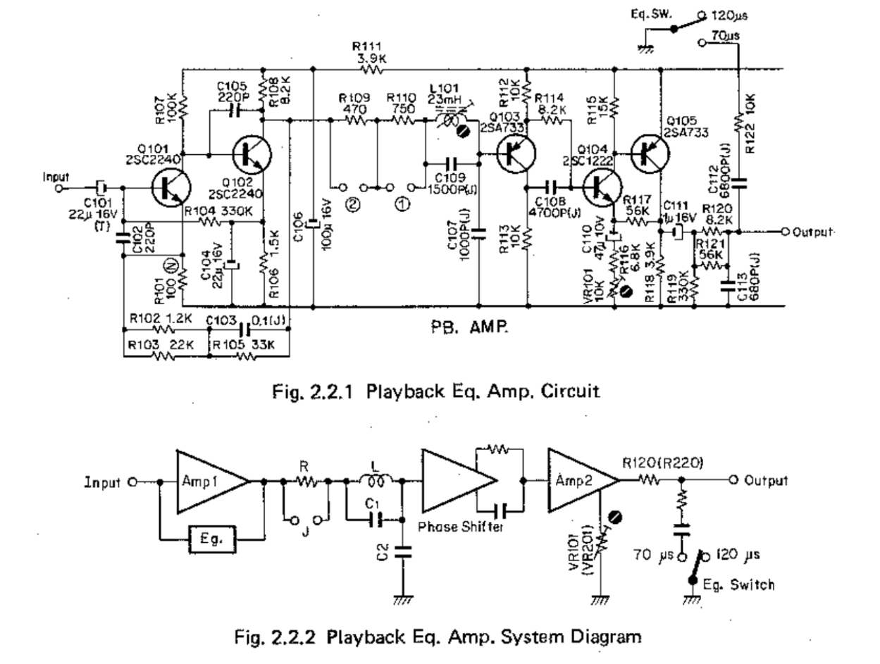
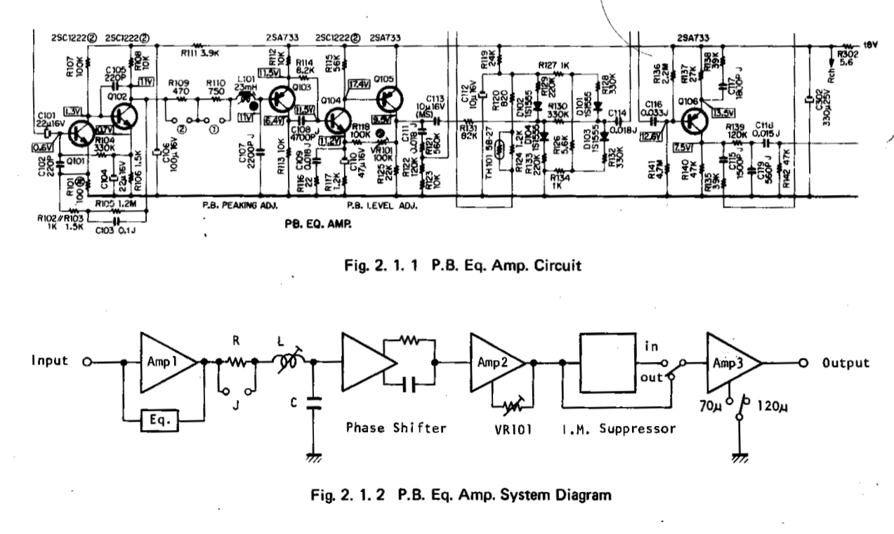
Всего два элемента в УВ (R114, C108) корректируют фазу

Я вот люблю, чтоб картинки были
Андрей же - мастер немногословия и загадочности  :D  
 
 
Андрюх
смотри ка
В старой 600-ке тоже есть фазокорректор в УВ
и даже в брошюре продекларировали
Но вот осцилографической картинкой с фазой решили только в 600 II похвастаться
 
 
Картинку давай Андро (JVC ME60)
Мужчины любят глазами, а не ушами  :D  
 
 
Да, ладно и х.з.с ней.  Главное ЛЕТО на дворе))  
Хай-Энд -это законный способ кайфануть)) Но если это надоест, то и неплохо то же.
 
 
Цитата
Сергей Галкин написал:
Цитата
 Станислав  написал:
Spectral это нечто, но это кастомная аудиофильская америкосовская контора, с нереальными изначальными ценами за новое от 10т-20т $ и выше...
Если б она не ломалась,была бы золотая,а так перебывало всё: оконечник,пред(тот что оч красивый внутри,а по звуку так себе) у цапов 2000 вообще одна болезнь в блоке питания,выгорание разъёмов.
Да и Левинсоны....с Крелами.(запланированное уничтожение)
Цап 2000 хотел прикупить, вы конечно их слушали, т.к. ремонтировали, как он вам по звуку?
Хай-Энд -это законный способ кайфануть)) Но если это надоест, то и неплохо то же.
 
 
Цитата
Станислав написал:
Цитата
 Сергей Галкин  написал:
 
Цитата
 Станислав  написал:
Spectral это нечто, но это кастомная аудиофильская америкосовская контора, с нереальными изначальными ценами за новое от 10т-20т $ и выше...
 Если б она не ломалась,была бы золотая,а так перебывало всё: оконечник,пред(тот что оч красивый внутри,а по звуку так себе) у цапов 2000 вообще одна болезнь в блоке питания,выгорание разъёмов.
Да и Левинсоны....с Крелами.(запланированное уничтожение)
Цап 2000 хотел прикупить, вы конечно их слушали, т.к. ремонтировали, как он вам по звуку?
А так косяки есть везде, вот TL0 поносят не по детски типа не о чем - ломучий антураж, а мой работает, и CD-R читает... а про звук и говорить не буду..
Хай-Энд -это законный способ кайфануть)) Но если это надоест, то и неплохо то же.
 
 
В пицотке нету
 
 
Цитата
Станислав написал:
Да, ладно и х.з.с ней.  Главное ЛЕТО на дворе))  
Один мой знакомый, ныне муз. продюссер, бывал в молодости во Франции (конец 80-хх), что его поразило, что на обочинах дорог порой валялась куча кассет, просто если у кого кассета зажевалась в автомагнитоле, то летела в окно... Для советского человека это было КОЩУНСТВОМ! Яровая меня поддержит в этом, я уверен.  
Изменено: Станислав - 04-07-2018 00:05:52
Хай-Энд -это законный способ кайфануть)) Но если это надоест, то и неплохо то же.
 
 
В 700 и 1000 не обнаружены
В 700 II и 1000 II обнаружены

Приходите на пересдачу
 
 
Французы - тогда редкие свиньи
Мало того что гадят так еще и кассетами
Дикари
Страницы: Пред. 1 ... 25 26 27 28 29 ... 32 След.
Архив Форума Hi-Fi.ru
По 23-5-2020
Портал Hi-Fi.ru более не предоставляет возможностей и сервисов по общению пользователей

1997—2026 © Hi-Fi.ru (Лицензионное соглашение)