| Цитата |
|---|
| Eduard Arabadji пишет: ...и чёт нигде вашей схемы фильтра ВЧ для АС без конденсатора не видел – немедля патентуйте! |
Архив Форума Hi-Fi.ru
По 23-5-2020
Портал Hi-Fi.ru более не предоставляет возможностей и сервисов по общению пользователей
По 23-5-2020
Портал Hi-Fi.ru более не предоставляет возможностей и сервисов по общению пользователей
Новые фильтры для "Вега 50АС-106", Прошу помочь с изготовлением фильтров
|
21-04-2017 10:47:28
Предложенная схема кроссовера может нормально работать при определённых условиях, с определённым классом и схемотехникой усилительной части – HI-FI. Эксплуатация схемы с классом усилительной аппаратуры HI-END грозит разрушением ВЧ драйверов. |
|||
|
|
|
|
21-04-2017 11:02:53
Мой товарищ, а после него и некоторые (часть удифильской тусовки нашего округа) пробовали данную схемотехнику фильтра. Думаю, что многие из них не согласятся с Вашими доводами. Тем более, что они выглядят как досужий вымысел. Они эксплуатируют, а Вы лишь глянули. Но тема об акустике "Вега...". Что есть предложить по ней, кроме танцев с усилителями? |
|||||||
|
|
|
|
21-04-2017 11:38:31
Изменено: - 21-04-2017 11:42:28
|
|||
|
|
|
|
21-04-2017 11:58:04
Применение последовательного фильтра может иметь (а может и не иметь) ряд не желательных последствий: - подъем на частоте раздела (так как нет возможности разнести частоты среза драйверов) - разбег фаз драйверов. Поэтому в современных АС, как правило используют параллельные фильтры, которые позволяют более детально откорректировать АЧХ. Если говорить о 3х полосных последовательных фильтрах, то там всё на порядок сложнее. В Вашем примере фильтр вообще первого порядка, для такого фильтра нужны идеальные драйверы. Последовательный фильтр позволяет сэкономить деньги на компонентах, не более того. ИМХО |
|||
|
|
|
|
21-04-2017 16:38:35
|
|||
|
|
|
|
21-04-2017 16:41:54
[/QUOTE] Никто не собирается соревноваться с инженерами, которые конструировали Вегу, но эта АС - предмет серийного производства, причем очень бюджетного класса и в не самое благоприятное время. Гулкий бас, невнятные Сч и ВЧ говорят сами за себя. Но это не значит, что там вообще нет никакого потенциала. С учетом их стоимости, эти АС и сейчас могут быть актуальными в сравнении с китайской аппаратурой. Не вижу никаких проблем с тем, чтобы немного поэкспериментировать, нежели отнести их просто на помойку. |
|||
|
|
|
|
21-04-2017 17:36:42
|
|||
|
|
|
|
23-04-2017 23:50:35
|
|||||
|
|
|
|
23-04-2017 23:54:45
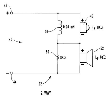
Схема #101 вполне может работать. Сопротивление, то что параллельно НЧ, служит пропуском для ВЧ составляющей, которая рассматривает катушку НЧ как индуктивность, в свою очередь, индуктивность, параллельная ВЧ динамику, снимает с ВЧ динамика НЧ составляющую, а еще,, вероятней всего, Сопротивление НЧ динамика должно быть меньше 8Ом, хотя это уже нюансы.
Изменено: - 24-04-2017 00:27:02
|
||||
|
|
|
|||
Архив Форума Hi-Fi.ru
По 23-5-2020
Портал Hi-Fi.ru более не предоставляет возможностей и сервисов по общению пользователей
По 23-5-2020
Портал Hi-Fi.ru более не предоставляет возможностей и сервисов по общению пользователей
