Владимир, если вы не перестанете флудить и провоцировать людей в темах, я вас опять на месяц заблокирую. Или, пожалуй, учитывая ваши множественные рецидивы, даже на три месяца. Начиная с завтрашнего дня
Считайте это единственным предупрежением, и я включаю для вас "испытательный срок" на две недели.
Архив Форума Hi-Fi.ru
По 23-5-2020
Портал Hi-Fi.ru более не предоставляет возможностей и сервисов по общению пользователей
По 23-5-2020
Портал Hi-Fi.ru более не предоставляет возможностей и сервисов по общению пользователей
АККОРД 201 СТЕРЕО, Винтаж бывает не только импортный
|
14-09-2012 23:41:24
|
|
|
|
|
|
16-09-2012 20:34:29
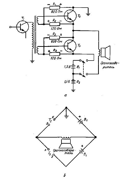
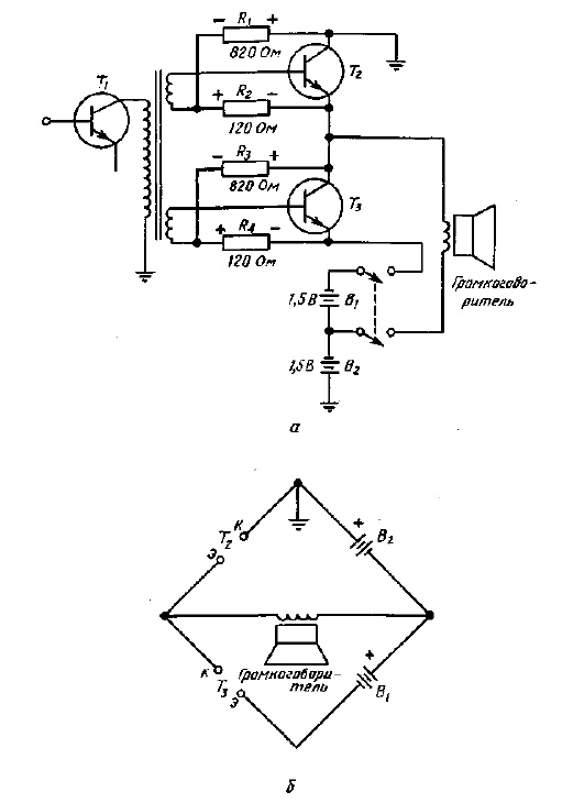
Да , нет , это именно фазоинверсный трансформатор , заменяющий фазоинвертор на транзисторах разной проводимости .
|
|
|
|
|
|
16-09-2012 20:39:10
Вот межкаскадный , выполняющий функции согласования и выделения противофазных сигналов .
Изменено: - 16-09-2012 20:41:00
|
|
|
|
|
|
16-09-2012 20:47:49
Межкаскадный - да.
А где выделяются противофазные сигналы на нём? Средняя точка на нём отсутствует,однако. P.S.В данной схеме он только согласующий.Всё остальное выполняется транзисторами разной проводимости. |
|
|
|
|
|
16-09-2012 20:55:49
А это трансформатор заменяющий фазоинвертирующий каскад .) Никакой средней точки нет .) По верхней схеме , кинул первую попавшуюся , не глядя . Не выделяется там ничего .)
Изменено: - 16-09-2012 21:03:38
|
|
|
|
|
|
16-09-2012 21:07:24
Ефимов,вы видите две обмотки?
Вот они и позволяют произвести разделение фаз - это можно получить и одной обмоткой со средней точкой. P.S.Однако. |
|
|
|
|
|
16-09-2012 21:13:09
И что ? К чему это ? Я именно о этом и писал .) Ну можно и одной обмоткой , только не в нижней схеме , а именно по этому принципу и сконструирован кертинг .)
|
|
|
|
|
|
16-09-2012 21:24:46
Во вторичной обмотке трансформатора(если она одна и без средней точки) всегда присутствует полный сигнал.Если их две,то должны быть промаркированы начало и конец обмоток. P.S.Вспомните как в блоке питания( в трансформаторе)вы разделяете полуволны для поледующего выпрямления. |
||||
|
|
|
|||
Архив Форума Hi-Fi.ru
По 23-5-2020
Портал Hi-Fi.ru более не предоставляет возможностей и сервисов по общению пользователей
По 23-5-2020
Портал Hi-Fi.ru более не предоставляет возможностей и сервисов по общению пользователей
