Наконец то, что то о Накамичи ...
Архив Форума Hi-Fi.ru
По 23-5-2020
Портал Hi-Fi.ru более не предоставляет возможностей и сервисов по общению пользователей
По 23-5-2020
Портал Hi-Fi.ru более не предоставляет возможностей и сервисов по общению пользователей
Деки NAKAMICHI, Настройка и обсуждение (Part 2)
|
05-11-2018 23:18:23
|
|
|
|
|
|
05-11-2018 23:21:17
Дима Н - RIAA привет!
|
|
|
|
|
|
05-11-2018 23:22:18
Хай-Энд -это законный способ кайфануть)) Но если это надоест, то и неплохо то же.
|
|||||
|
|
|
|
05-11-2018 23:27:48
Хай-Энд -это законный способ кайфануть)) Но если это надоест, то и неплохо то же.
|
|||
|
|
|
|
05-11-2018 23:36:59
Стас
как от этого 1) можно что то приделать к этому 2) ? Вообще две разные системы протяга с совершенно разными комплектующими 1) CR-7 2) ZX-9 В порядке скепсиса ... |
|
|
|
|
|
05-11-2018 23:44:20
В CR-7 три процессора - IC601, IC606, IC608
смерть любого из них - неработоспособность деки |
|
|
|
|
|
05-11-2018 23:48:46
Все верно - у II-го просто шкив, у III-го червяная шестерня на валах |
|||
|
|
|
|
05-11-2018 23:54:37
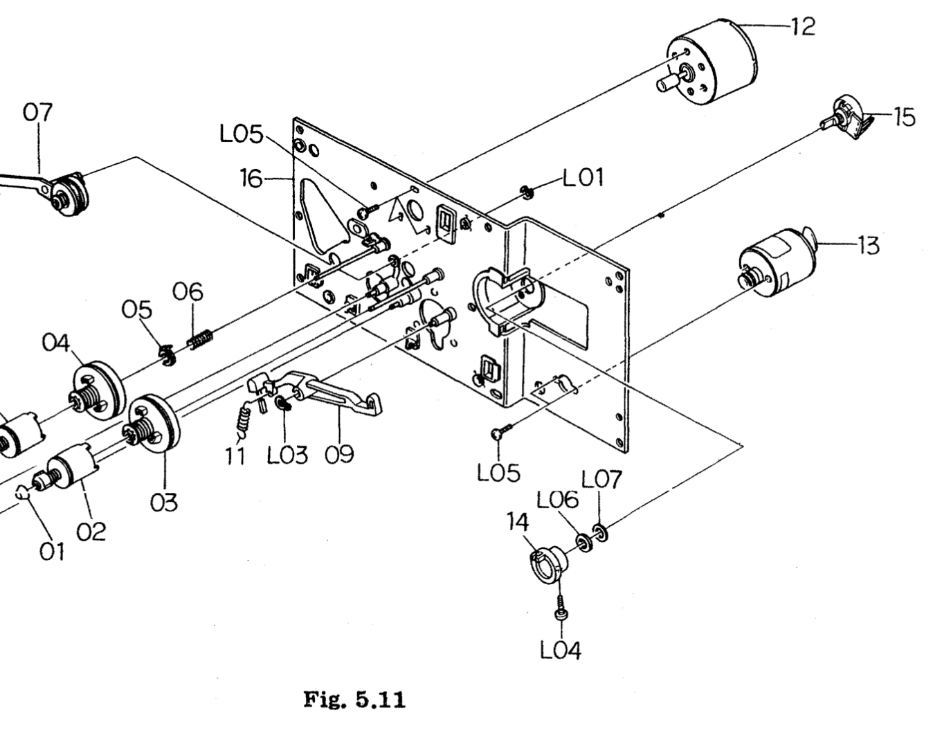
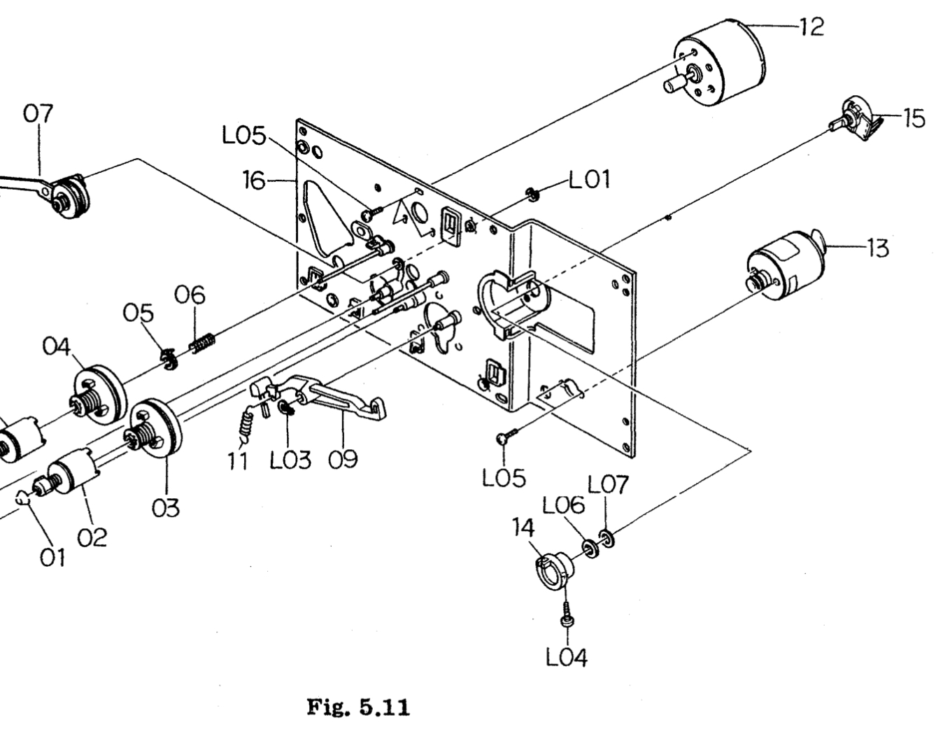
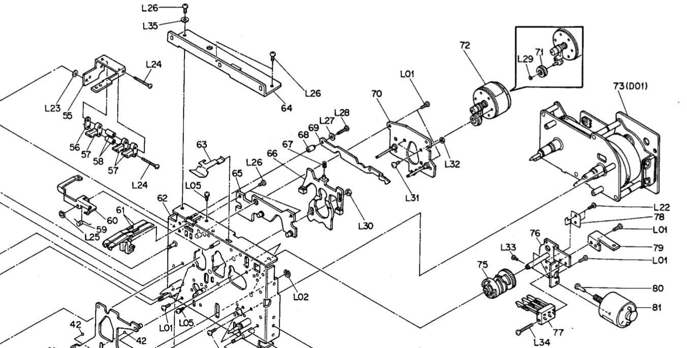
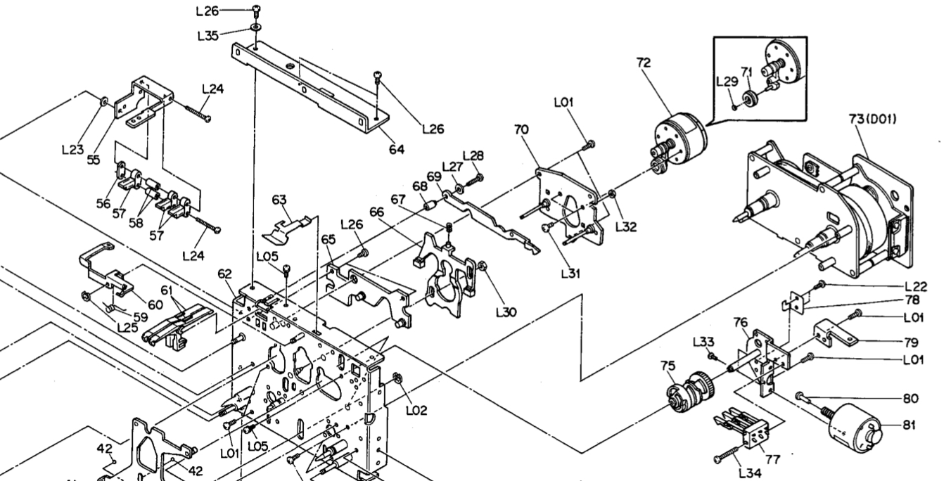
1) Моторчик режимов ZX-9 (номер на схеме 13)
2) Мотопчик режимов CR-7 (номер на схеме 81) |
|
|
|
|
|
05-11-2018 23:55:42
|
||||
|
|
|
|||
Архив Форума Hi-Fi.ru
По 23-5-2020
Портал Hi-Fi.ru более не предоставляет возможностей и сервисов по общению пользователей
По 23-5-2020
Портал Hi-Fi.ru более не предоставляет возможностей и сервисов по общению пользователей
