Для АТ95 прижим 1,8-2,5г, для АТ440, АТ150 прижим 1,0-1,7. Оптимум примерно посередине.
Архив Форума Hi-Fi.ru
По 23-5-2020
Портал Hi-Fi.ru более не предоставляет возможностей и сервисов по общению пользователей
По 23-5-2020
Портал Hi-Fi.ru более не предоставляет возможностей и сервисов по общению пользователей
Любителям винила, Диппредставительство в Магнитофонной республике
|
27-01-2019 11:24:59
|
|
|
|
|
|
27-01-2019 11:29:03
|
|||
|
|
|
|
27-01-2019 11:34:50
Я скучно читаю, с формулами, еще больше заскучают.
|
|
|
|
|
|
27-01-2019 11:40:39
В кратце. Вывешиваем в ноль тонарм, с помощью балансировочного грузика. Устанавливаем силу прижима. Устанавливаем значение антискейтинка. И только потом, регулируя высоту тонарма, выставляем угол ВТА. Я конечно понимаю, что на Вашей электронике тонарм по высоте не регулируется, но это не мои проблемы. |
|||||
|
|
|
|
27-01-2019 12:06:45
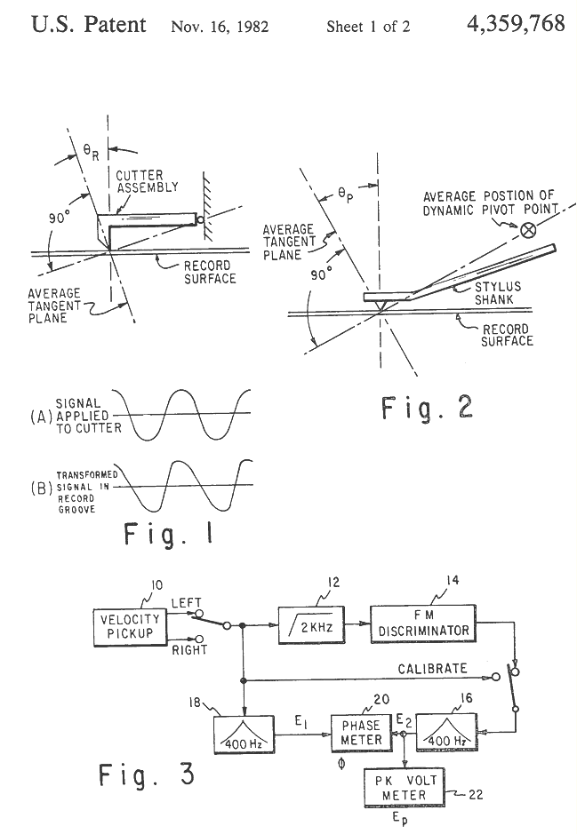
Чем больше прижим тем больше прогибается кантеливер и тем самым угол между траекторией движения резца (читаем иглы при воспр.) и вертикалью к пласту уменьшается - возникает подъем НЧ и наоборот. Подъем обуславливается искажениями формы синуса см. фиг1 на прикрепленном скрине. На измерительных пластах есть спец. трек с треугольным сигналом - если ВТА правильный - треугольник равносторонний, если нет- то одна из сторон длиннее. Если длиннее левая - то имеем подъем НЧ и наоборот. |
|||
|
|
|
|
27-01-2019 12:09:43
|
|||||
|
|
|
|
27-01-2019 12:22:29
Ставим прижим 2гр., после этого угол ВТА, слушаем запоминаем. Затем выставляем прижим 2,5 и так же угол ВТА. В обоих случаях ВТА одинаков, а звучит по разному. Вот ведь чудеса |
|||
|
|
|
|
27-01-2019 12:35:01
|
|||||
|
|
|
|
27-01-2019 13:00:36
|
||||
|
|
|
|||
Архив Форума Hi-Fi.ru
По 23-5-2020
Портал Hi-Fi.ru более не предоставляет возможностей и сервисов по общению пользователей
По 23-5-2020
Портал Hi-Fi.ru более не предоставляет возможностей и сервисов по общению пользователей
