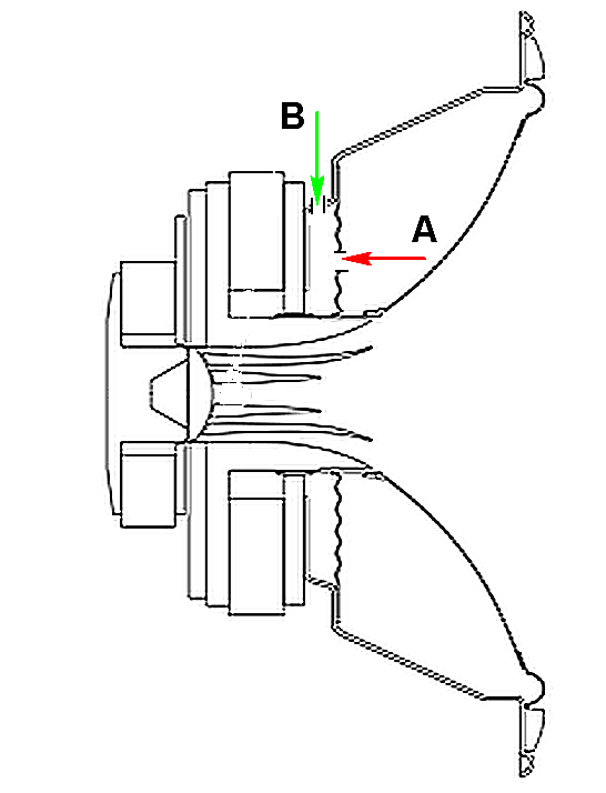
Добрый день Евгений. Давайте для начала выясним, ВЧ пропали в обоих каналах или в одном. Дело в том, что я не знаю, как именно Вы подключили свои АС.
Если двумя обычными проводами как на рисунке 1, то тогда сигнал на ВЧ (HF) передаётся через позолоченные участки пластины(если провод у Вас подключен именно так, как на рисунке, т.е. к LF (НЧ)). Для этого необходимо сдвинуть пластину до упора вправо и плотно затянуть клеммы HF + и - и уж потом только затягивать провода в клеммы LF. Если у Вас именно такое подключение, то скорее всего со временем, от вибрации ослаб контакт клемм с позолоченными участками пластины и сигнал на ВЧ не поступает.
Если же у Вас бивайринг, как на рисунке 2, то советую проверить надёжность контакта на клеммах HF.Причина та-же самая - ослабление контакта, если к примеру подключено "лопатками".
Если подключение произведено зачищенным проводом, то со временем в добавок к механическому ослаблению контакта, могло добавиться окисление самого провода. Ввиду того, что импеданс АС падает до 2,8 Ohm, им нужен мощный транзисторный усилитель, с высоким коэффициентом демпфирования. К примеру такой как Pioneer SA-9900, о котором я уже писал в #349.
P.S. Усилитель о котором я писал что одолжил на время - Luxman SQ-202, о котором приятель отзывался: - "Не тянет", при том, что многим из его гостей более мягкое звучание Luxman SQ-202 нравилось больше чем пионеровское, вплоть до того что активно интересовались - где такой можно купить.
Думаю, многое зависит от личных предпочтений.
На мой взгляд мои Hitachi HA-5300 и Tandberg TR-2075, ничуть не хуже "тянут" чем более мощный Pioneer SA-9900.
Если двумя обычными проводами как на рисунке 1, то тогда сигнал на ВЧ (HF) передаётся через позолоченные участки пластины(если провод у Вас подключен именно так, как на рисунке, т.е. к LF (НЧ)). Для этого необходимо сдвинуть пластину до упора вправо и плотно затянуть клеммы HF + и - и уж потом только затягивать провода в клеммы LF. Если у Вас именно такое подключение, то скорее всего со временем, от вибрации ослаб контакт клемм с позолоченными участками пластины и сигнал на ВЧ не поступает.
Если же у Вас бивайринг, как на рисунке 2, то советую проверить надёжность контакта на клеммах HF.Причина та-же самая - ослабление контакта, если к примеру подключено "лопатками".
Если подключение произведено зачищенным проводом, то со временем в добавок к механическому ослаблению контакта, могло добавиться окисление самого провода. Ввиду того, что импеданс АС падает до 2,8 Ohm, им нужен мощный транзисторный усилитель, с высоким коэффициентом демпфирования. К примеру такой как Pioneer SA-9900, о котором я уже писал в #349.
P.S. Усилитель о котором я писал что одолжил на время - Luxman SQ-202, о котором приятель отзывался: - "Не тянет", при том, что многим из его гостей более мягкое звучание Luxman SQ-202 нравилось больше чем пионеровское, вплоть до того что активно интересовались - где такой можно купить.
Думаю, многое зависит от личных предпочтений.
На мой взгляд мои Hitachi HA-5300 и Tandberg TR-2075, ничуть не хуже "тянут" чем более мощный Pioneer SA-9900.
Изменено: - 06-11-2018 12:22:07
dzhanikyan@gmail.com
- Пока не воспользовался интернетом, не знал, что на свете столько идиотов. © Ст. Лем
Аргументы (словеса) - ничто, факты, в виде реального звучания - всё.
- Пока не воспользовался интернетом, не знал, что на свете столько идиотов. © Ст. Лем
Аргументы (словеса) - ничто, факты, в виде реального звучания - всё.

