Коаксиал по технологии ICT
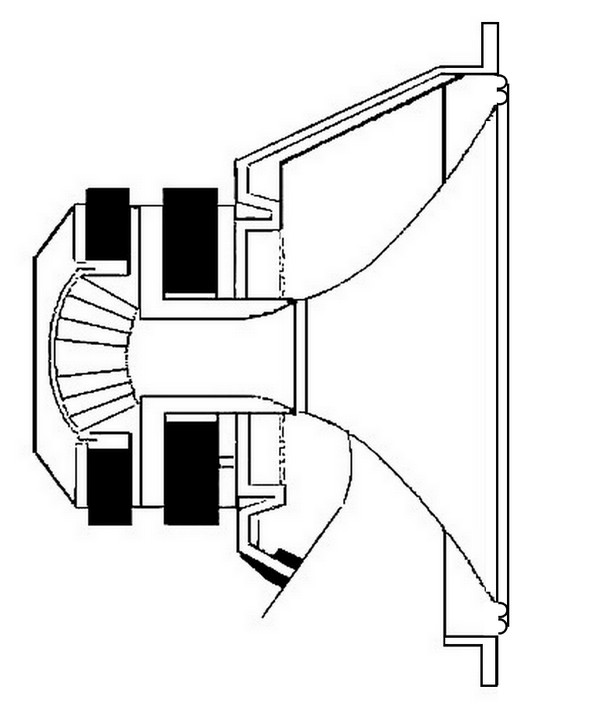
Раз уж так получилось, что перешли к малым формам, стоит упомянуть о коаксиальных динамиках в которых используется технология ICT, или принцип электромагнитной муфты.
В этих динамиках, ВЧ купол не имеет звуковой катушки, но имеет алюминиевую (как и сам купол) цилиндрическую часть, находящуюся соосно внутри звуковой катушки НЧ драйвера, на близком от последней расстоянии и таким образом получая от неё энергию, под воздействием которой купол ВЧ и колеблется наподобии того, как это происходит между обмотками трансформатора.
Таким образом, нет проблем по фазе при сведении ВЧ и НЧ, а также боязни, что нежная катушка ВЧ сгорит при большой подводимой мощности.
Но, судя по всему, эта технология имеет свои ограничения, в плане уровня ВЧ сигнала и как следствие максимального размера динамика. Ведь даже со вспомогательными ВЧ рупорками, максимальный размер коаксиала с применением технологии ICT всего - 6,5".
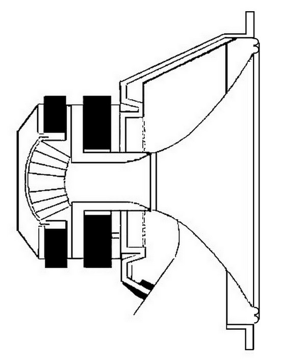
Раз уж так получилось, что перешли к малым формам, стоит упомянуть о коаксиальных динамиках в которых используется технология ICT, или принцип электромагнитной муфты.
В этих динамиках, ВЧ купол не имеет звуковой катушки, но имеет алюминиевую (как и сам купол) цилиндрическую часть, находящуюся соосно внутри звуковой катушки НЧ драйвера, на близком от последней расстоянии и таким образом получая от неё энергию, под воздействием которой купол ВЧ и колеблется наподобии того, как это происходит между обмотками трансформатора.
Таким образом, нет проблем по фазе при сведении ВЧ и НЧ, а также боязни, что нежная катушка ВЧ сгорит при большой подводимой мощности.
Но, судя по всему, эта технология имеет свои ограничения, в плане уровня ВЧ сигнала и как следствие максимального размера динамика. Ведь даже со вспомогательными ВЧ рупорками, максимальный размер коаксиала с применением технологии ICT всего - 6,5".
Изменено: - 06-11-2018 12:22:08
dzhanikyan@gmail.com
- Пока не воспользовался интернетом, не знал, что на свете столько идиотов. © Ст. Лем
Аргументы (словеса) - ничто, факты, в виде реального звучания - всё.
- Пока не воспользовался интернетом, не знал, что на свете столько идиотов. © Ст. Лем
Аргументы (словеса) - ничто, факты, в виде реального звучания - всё.
